授权专利
【实用新型】TKA假体X线摄影专用稳定架
专利号:CN201820941543.7
申请日:20180619
发明人:张迪; 李广民; 王珍琦
法律状态:授权
公开号:CN209360717U
授权公告日:2019-09-10
交易方式:转让; 许可
【摘要】:
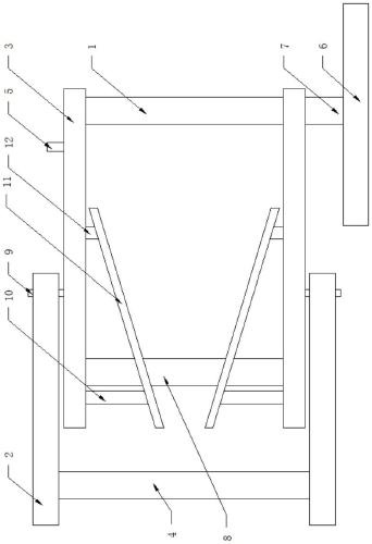
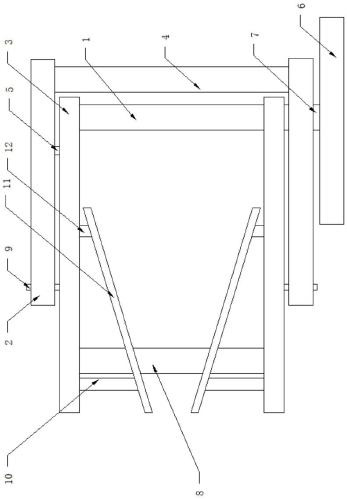
本实用新型公开了一种TKA假体X线摄影专用稳定架,包括底板和足根稳定板,所述底板和足根稳定板的两侧均设有连接所述底板和足根稳定板的竖直的正位小腿稳定板,所述正位小腿稳定板的内侧设有两个竖直的小腿稳定板,所述小腿稳定板通过小腿稳定板支撑长板和小腿稳定板支撑短板与所述正位小腿稳定板连接;所述正位小腿稳定板的外侧均设有通过侧位摄影转轴枢接的侧位稳定板,所述侧位稳定板的尾端设有股骨稳定板;所述正位小腿稳定板的外侧靠近所述底板的一端设有角度固定块。本是实用新型的稳定架,在一些实施方式中,通过简单的旋转可以达到正位和侧位满意的摄影体位。在一些实施方式中,两个小腿稳定板之间的间距可调以适应不同患者。
【技术领域】:
本实用新型属于医疗器械领域,具体涉及TKA假体X线摄影专用稳定架。
【实用新型内容】:
针对上述问题,本实用新型提供了一种针对临床(主要包括手术室、门诊及病房) 中患者无法配合X线摄影而设计的的稳定装置,包括稳定膝关节,稳定踝关节,稳定探测器,从而达到满意的摄影体位,提高TKA假体的X线图像的合格率,具体结构如下:
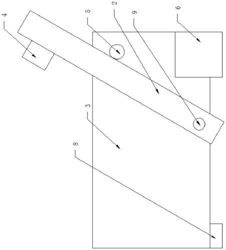
TKA假体X线摄影专用稳定架,由X线摄影下不显影的材质制成,其中,包括底板和足根稳定板,所述底板和足根稳定板的两侧均设有连接所述底板和足根稳定板的竖直的正位小腿稳定板,所述正位小腿稳定板的内侧设有两个竖直的小腿稳定板,所述小腿稳定板通过小腿稳定板支撑长板和小腿稳定板支撑短板与所述正位小腿稳定板连接;两个所述小腿稳定板之间的间距沿从所述底板到所述足根稳定板的方向逐渐变小;所述正位小腿稳定板的外侧均设有通过侧位摄影转轴枢接的侧位稳定板,所述侧位稳定板的尾端设有股骨稳定板;所述正位小腿稳定板的外侧靠近所述底板的一端设有角度固定块;所述底板的一侧的外侧设有竖直的探测器稳定板,所述探测器稳定板和所述正位小腿稳定板之间设有探测器卡槽。
可选的,两个所述小腿稳定板之间的间距可调。
进一步可选的,所述小腿稳定板为弹性材质。
进一步可选的,所述小腿稳定板为钢性材质,所述小腿稳定板支撑长板和小腿稳定板支撑短板的长度可调。
更进一步可选的,所述小腿稳定板支撑长板和小腿稳定板支撑短板均为弹性材质。
更进一步可选的,所述小腿稳定板支撑长板和小腿稳定板支撑短板均为阻尼伸缩杆。
在本实用新型的描述中,术语“前端”、“底部”、“一端”、“外”、“水平”、“内”、“上”、“上部”、“后端”、“两端”、“水平”、“下方”、“内部”、“下端”、“下方”、“下部”、“上方”等指示的方位或位置关系是基于附图所示的方位或位置关系,是为了便于描述本实用新型和简化描述,而不是指示或暗示所指的装置或元件必须具有特定的方位、以特定的方位构造和操作,因此不能理解为对本实用新型的限制。
有益效果:
本实用新型的TKA假体X线摄影专用稳定架,针对临床(主要包括手术室、门诊及病房)中患者无法配合X线摄影而设计,在一些实施方式中,可以稳定膝关节、踝关节和探测器,通过简单的旋转可以达到正位和侧位均满意的摄影体位,提高 TKA假体的X线图像的合格率。在一些实施方式中,两个小腿稳定板之间的间距可调,以适应不同的患者。
【附图】:





























