授权专利
【实用新型】股骨大转子外侧锁定钩
专利号:CN201921440337.9
申请日:20190830
发明人:赵福龙; 郭丽娟
法律状态:授权
公开号:CN211271086U
授权公告日:2020-08-18
交易方式:转让; 许可
【摘要】:
公开了股骨大转子外侧锁定钩,属于骨折固定机构技术领域。其包括锁钩(14)、锁定组件(15)和连接件,锁钩(14)的一端固定连接于锁定组件(15)的一端,锁钩(14)的另一端形成第一自由端,锁定组件(15)的另一端形成第二自由端;当用于股骨大转子外侧发生骨折的部位时,第一自由端钩住撕脱骨折块(21),第二自由端通过连接件连接于股骨大转子外侧骨块主体(1)。其能够针对股骨大转子外侧发生骨折的部位,对撕脱骨折块和股骨大转子外侧骨块主体进行有效固定。
【技术领域】:
本实用新型涉及骨折固定机构技术领域,特别是涉及一种股骨大转子外侧锁定钩。
【实用新型内容】:
本实用新型提供了一种股骨大转子外侧锁定钩,其能够针对股骨大转子外侧发生骨折的部位,对撕脱骨折块和股骨大转子外侧骨块主体进行有效固定,从而更加适于实用。
为了达到上述目的,本实用新型提供的股骨大转子外侧固定钩的技术方案如下:
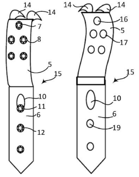
本实用新型提供的股骨大转子外侧锁定钩包括锁钩(14)、锁定组件(15) 和连接件,
所述锁钩(14)的一端固定连接于所述锁定组件(15)的一端,所述锁钩(14) 的另一端形成第一自由端,所述锁定组件(15)的另一端形成第二自由端;
当用于股骨大转子外侧发生骨折的部位时,所述第一自由端钩住撕脱骨折块(21),所述第二自由端通过所述连接件连接于股骨大转子外侧骨块主体(1)。
本实用新型提供的股骨大转子外侧固定钩还可采用以下技术措施进一步实现。
作为优选,所述锁定组件(15)包括第一锁定件(5)和第二锁定件(6),
所述锁钩(14)的一端固定连接于所述第一锁定件(5)的一端,所述第一锁定件(5)的另一端固定连接于所述第二锁定件(6)的一端,所述第二锁定件 (6)的另一端形成所述第二自由端;
所述第一锁定件(5)和第二锁定件(6)分别通过所述连接件连接于股骨大转子外侧骨块主体;
其中,所述第一锁定件(5)的形状与所述股骨大转子外侧骨块的形状相适配。
作为优选,所述第一锁定件(5)以其与所述锁钩(14)的连接处为起始点,以其与所述第二锁定件(6)的连接处为终止点,呈朝向外部的弧形面,所述弧形面的弧度、所述起始点与终止点之间的高度依据股骨大转子外侧发生骨折的部位的X光片确定。
作为优选,所述锁钩(14)包括两个,两个所述锁钩(14)之间的横向间距小于所述撕脱骨折块(21)的横向裂缝(4)的宽度并且能够让出臀小肌(22)。
作为优选,所述连接件包括第一锁定螺钉(7),
所述第一锁定件(5)在所述股骨大转子外侧骨块主体(1)上靠近所述撕脱骨折块(21)的横向裂缝(4)的位置设置有第一锁定孔(16),
所述第一锁定螺钉(7)从所述第一锁定件(5)的外侧穿过所述第一锁定孔(16)后楔入所述股骨大转子外侧骨块主体(1)。
作为优选,所述连接件还包括第二锁定螺钉(11),
所述第二锁定件(6)上设有第二锁定孔(10),
所述第二锁定螺钉(11)从所述第二锁定件(6)的外侧穿过所述第二锁定孔(10)后楔入所述股骨大转子外侧骨块主体(1)。
作为优选,所述第二锁定孔(10)在竖直方向的长度大于所述第二锁定孔(10) 在水平方向的长度。
作为优选,所述第二锁定孔(10)为椭圆孔,
所述椭圆孔的长轴处于竖直方向,所述椭圆孔的段轴处于水平方向。
作为优选,所述股骨大转子外侧锁定钩还包括若干第一种辅助锁定螺钉,
所述第一锁定件(5)在所述第一锁定孔(16)及其与所述第二锁定件(6) 之间的连接处之间设置有若干第一种辅助锁定孔(8),
所述第一种辅助锁定螺钉从所述第一锁定件(5)的外侧穿过所述第一种辅助锁定孔(8)后楔入所述股骨大转子外侧骨块主体(1)。
作为优选,所述股骨大转子外侧锁定钩还包括若干第二种辅助锁定螺钉 (12),
所述第二锁定件(6)在所述第二锁定孔(10)和所述第二自由端之间设置有若干第二种辅助锁定孔(19),
所述第二种辅助锁定螺钉(12)从所述第二锁定件(6)的外侧穿过所述第二种辅助锁定孔(19)后楔入所述股骨大转子外侧骨块主体(1)。
在应用过程中,本实用新型提供的股骨大转子外侧锁定钩能够借助第一自由端钩住撕脱骨折块21,借助第二自由端连接于股骨大转子外侧骨块主体1,也就是说,当股骨大转子外侧发生骨折时,能够以本实用新型提供的股骨大转子外侧锁定钩为连接桥将撕脱骨折块21和股骨大转子外侧骨块主体1固定在一起,其能够对抗臀中肌3、臀小肌22的牵拉力,从而针对股骨大转子外侧骨块发生骨折的部位的固定较稳定,因此,能够加快股骨大转子外侧骨块发生骨折的部位的愈合,最大限度地减轻患者痛苦。
【附图】:






























