授权专利
【实用新型】一种双头吸唾管结构
专利号:CN201922361308.X
申请日:20191225
发明人:丁南; 李蓉崟; 鲍启燕
法律状态:授权
公开号:CN211409482U
授权公告日:2020-09-04
交易方式:转让; 许可
【摘要】:
本实用新型涉及吸唾管技术领域,具体地说,涉及一种双头吸唾管结构,包括吸唾主管,吸唾主管的末端分叉为第一吸唾支管和第二吸唾支管,第一吸唾支管和第二吸唾支管内均套接有若干定型丝,第一吸唾支管和第二吸唾支管的头部均安装有吸唾头,第一吸唾支管的外部套接有八字夹。该双头吸唾管结构,通过在吸唾主管头部分开的两个不同大小的吸唾支管,使得拔牙时可根据视野大小进行支管的选择,同时可将两个支管一同使用,以分别吸收口腔左右两侧的液体,增加吸收效率,达到适用于口腔科各种环境的目的。
【技术领域】:
本实用新型涉及吸唾管技术领域,具体地说,涉及一种双头吸唾管结构。
【实用新型内容】:
本实用新型的目的在于提供一种双头吸唾管结构,以解决上述背景技术中提出的问题。
为实现上述目的,本实用新型提供如下技术方案:
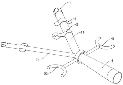
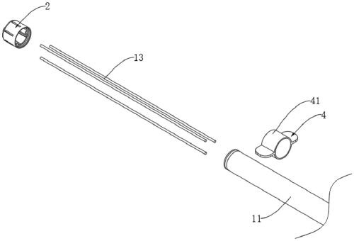
一种双头吸唾管结构,包括吸唾主管,所述吸唾主管的末端分叉为第一吸唾支管和第二吸唾支管,第一吸唾支管和第二吸唾支管内均套接有若干定型丝,第一吸唾支管和第二吸唾支管的头部均安装有吸唾头,所述吸唾头内开设有套腔,吸唾头的外表面上开设有若干吸唾孔,套腔的内壁一体成型有若干插套,定型丝的端部嵌入到插套内,第一吸唾支管的外部套接有八字夹,八字夹由金属条一体折弯成型,八字夹的首末两端折弯成翘边,八字夹上折弯成型有分别用于套接第一吸唾支管和第二吸唾支管的第一夹腔和第二夹腔。
作为优选,所述吸唾主管、第一吸唾支管以及第二吸唾支管为柔性的一体成型结构,其整体为Y型。
作为优选,所述第一吸唾支管的直径为1.5cm,第二吸唾支管的直径为0.8cm,两个吸唾头分别与第一吸唾支管和第二吸唾支管的尺寸相适配。
作为优选,所述吸唾孔与套腔相连通,套腔的口部位置处开设有内螺纹,第一吸唾支管和第二吸唾支管头部的外表面呈螺纹状并与吸唾头螺纹连接。
作为优选,所述第一吸唾支管和第二吸唾支管的外表面上均设置有抵板,抵板的末端一体成型有套卡,两个抵板上的套卡分别套接在第一吸唾支管和第二吸唾支管的外围。
作为优选,所述吸唾主管上套接有撑开结构,撑开结构包括套接在吸唾主管上的套环和位于套环两侧的抵叉,套环和抵叉之间通过连接杆连接,套环、抵叉以及连接杆为一体成型结构。
与现有技术相比,本实用新型的有益效果是:
该双头吸唾管结构,通过在吸唾主管头部分开的两个不同大小的吸唾支管,使得拔牙时可根据视野大小进行支管的选择,同时可将两个支管一同使用,以分别吸收口腔左右两侧的液体,增加吸收效率,达到适用于口腔科各种环境的目的。
【附图】:































