授权专利
【实用新型】手康复训练设备
专利号:CN202020165389.6
申请日:20200213
法律状态:授权
公开号:CN212166109U
授权公告日:2020-12-18
交易方式:转让; 许可
【摘要】:
本实用新型涉及康复器械技术领域,具体地说,涉及一种手康复训练设备,包括分别与手指对应的若干指部训练器,指部训练器分别套设在手套的指套内,指部训练器包括指跟搭板、指肚搭板以及指尖搭板,指肚搭板包括基板和伸缩板,指跟搭板和基板上方设有座板,座板上安装有微型马达,指尖搭板和伸缩板上设有转板,微型马达的输出轴与转板同轴连接。该手康复训练设备,通过使患者对手套进行穿戴并使手指分别贴合在各个指部训练器的表面后对微型马达进行通电,使微型马达依次带动指部训练器的关节处进行活动,从而带动手部屈曲和伸直,达到训练手部肌肉的目的,且手套形式的康复训练设备穿戴方便。
【技术领域】:
本实用新型涉及康复器械技术领域,具体地说,涉及一种手康复训练设备。
【实用新型内容】:
本实用新型的目的在于提供一种手康复训练设备,以解决上述背景技术中提出的问题。
为实现上述目的,本实用新型提供如下技术方案:
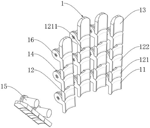
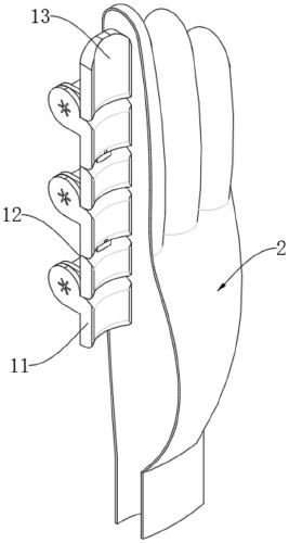
一种手康复训练设备,包括分别与手指对应的若干指部训练器,所述指部训练器分别套设在手套的指套内,指部训练器包括固定在手套内的指跟搭板、安装在指跟搭板顶端的若干指肚搭板以及安装在指肚搭板顶端的指尖搭板,所述指跟搭板紧密缝接在手套内掌部与指部的连接处,所述指肚搭板的数量与对应手指处的关节数量相等,指肚搭板包括基板和安装在基板顶端的伸缩板,基板的顶端嵌设有插板,伸缩板的底端开设有滑动槽,插板与滑动槽滑动连接,所述指跟搭板和基板的顶端背面位置处均一体成型有座板,座板的右侧端通过螺钉安装有微型马达,指尖搭板和伸缩板的底端背面位置处均一体成型有转板,转板贴合在座板的左侧端,微型马达的输出轴末端贯穿座板后与转板同轴连接。
作为优选,所述指部训练器、指肚搭板以及指尖搭板与手指贴合的表面均呈弧面状。
作为优选,所述插板上开设有腰型槽,滑动槽的槽口处穿插有销轴,销轴从滑动槽中穿过。
作为优选,所述指尖搭板紧密缝接在手套内指部的指尖处。
作为优选,所述微型马达的输出轴末端紧密焊接有花键轮,转板的表面处开设有花键槽,花键轮嵌入在花键槽内。
作为优选,所述手套的指部外围处开设有通孔,微型马达从通孔中伸出。
与现有技术相比,本实用新型的有益效果是:
该手康复训练设备,通过分别设置在手套内的指部训练器,使得患者在穿戴手套并使手指分别贴合在各个指部训练器的表面上后对微型马达进行通电,使微型马达依次带动指部训练器的关节处进行活动,从而带动手部屈曲和伸直,达到训练手部肌肉的目的,且手套形式的康复训练设备穿戴方便。
【附图】:






























