授权专利
【实用新型】消毒棉棒
专利号:CN201921080085.3
申请日:20190710
发明人:刘宝芝
法律状态:授权
公开号:CN210582850U
授权公告日:2020-05-22
交易方式:转让; 许可
【摘要】:
本实用新型公开一种消毒棉棒,涉及医疗器械技术领域, 以解决现有技术中由于棉棒蘸取药剂不易控制,发生蘸取量大,药剂易滴落,而蘸取量小消毒不达标的技术问题。本实用新型提供的消毒棉棒,包括:握杆、连接件以及消毒棉头;握杆为空心杆;连接件位于握杆内,且其一端为拉动端,另一端为连接端;拉动端伸出握杆,连接端穿过握杆与消毒棉头相连接;消毒棉头的最大截面面积大于与握杆与其接触的一端的开口大小,连接件能够拉动消毒棉头使其至少部分进入握杆内,将棉棒内的药剂部分挤出,且进入握杆内消毒棉头能够再次伸出握杆,以进行消毒操作。
【技术领域】:
本实用新型涉及医疗器械技术领域,尤其是涉及一种消毒棉棒。
【实用新型内容】:
本实用新型提供一种消毒棉棒,以解决现有技术中由于棉棒蘸取药剂不易控制,发生蘸取量大,药剂易滴落,而蘸取量小消毒不达标的技术问题。
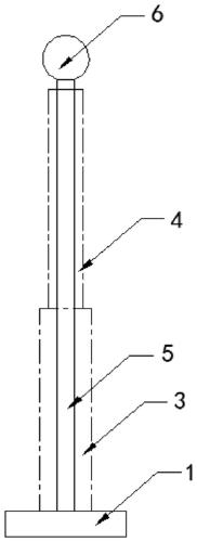
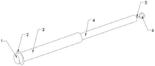
本实用新型提供一种消毒棉棒,包括:握杆、连接件以及消毒棉头;所述握杆为空心杆;所述连接件位于所述握杆内,且其一端为拉动端,另一端为连接端;所述拉动端伸出所述握杆,所述连接端穿过所述握杆与所述消毒棉头相连接;所述消毒棉头的最大截面面积大于与所述握杆与其接触的一端的开口大小,所述连接件能够拉动所述消毒棉头的至少部分进入所述握杆内,且进入所述握杆内所述消毒棉头能够再次伸出所述握杆。
其中,所述握杆为伸缩杆,其包括第一握杆和第二握杆,所述第二握杆能够伸入或部分伸出所述第一握杆;当所述第二握杆部分伸出所述第一握杆时,所述连接件依次穿过所述第二握杆和所述第一握杆与所述消毒棉头相连接。
具体地,所述连接件为硬质连接杆,推动所述硬质连接杆能够使进入所述握杆内的所述消毒棉头伸出。
进一步地,所述连接件为导丝,所述第二握杆收缩于所述第一握杆内的状态下,所述导丝能够收缩于所述第二握杆内。
更进一步地,所述连接件的拉动端还连接有拉动件,所述拉动件的最大截面积大于所述握杆朝向所述拉动件的一端的开口大小。
更进一步地,所述拉动件呈块状或环状。
其中,本实用新型提供的消毒棉棒,还包括挤压片,所述连接件的连接端与所述挤压片的一侧相连接,所述挤压片的另一侧与所述消毒棉头相连接;所述挤压片为柔性,所述连接件能够拉动至少部分所述挤压片回缩至所述握杆内,所述挤压片对所述消毒棉头产生挤压力。
具体地,所述第二握杆的长度不小于所述第一握杆的长度。
进一步地,所述第二握杆远离所述拉动件的一端外壁上设有卡扣,所述第一握杆远离所述消毒棉头的一端内壁设有卡槽;在所述第二握杆伸出所述第一握杆的部分达到最大长度时,所述卡扣能够卡固于所述第一握杆内壁上的卡槽内。
更进一步地,所述消毒棉头的材质为医用脱脂棉或医用海绵。
相对于现有技术,本实用新型所述的消毒棉棒具有以下优势:
本实用新型提供的消毒棉棒,包括:握杆、连接件以及消毒棉头;握杆为空心杆;连接件位于握杆内,且其一端为拉动端,另一端为连接端;拉动端伸出握杆,连接端穿过握杆与消毒棉头相连接;消毒棉头的最大截面面积大于与握杆与其接触的一端的开口大小,连接件能够拉动消毒棉头的至少部分进入握杆内,且进入握杆内消毒棉头能够再次伸出握杆。
由此分析可知,本实用新型提供的消毒棉棒中,消毒棉头与连接件连接,连接件穿过并伸出握杆,由于消毒棉头的最大截面面积大于与握杆与其接触的一端的开口大小,且握杆为空心杆。因此,当拉拽连接件的拉动端时,连接件的连接端带动消毒棉头向握杆内收缩,完成对多余消毒液的挤出;松开或向消毒棉头的方向推动连接件,被拉入握杆内的消毒棉头便能够再次伸出握杆,并进行消毒。
使用本实用新型提供的消毒棉棒时,将消毒机构浸入待蘸取的消毒液中;蘸取好消毒液后,提拉连接件的拉动端,使消毒棉头的部分回缩至握杆的空间内,由于消毒件的最大截面积大于握杆与其接触的一端的开口大小,因此,能够使多余的消毒液挤出消毒棉头。松开连接件后,握杆内的部分消毒棉头再次伸出,操作人员进行消毒工作。
因此,该装置有效解决了现有技术中,由于棉棒蘸取药剂不易控制,发生蘸取量大,药剂易滴落,而蘸取量小消毒不达标的技术问题。
综述,本实用新型实施例提供的消毒棉棒,主要具有结构简单,操作方便,能够控制消毒液的蘸取量,避免消毒液的浪费或消毒不达标的问题。
【附图】:





























