授权专利
【实用新型】一种尿液留取装置
专利号:CN201921322808.6
申请日:20190814
发明人:梁艳红
法律状态:授权
公开号:CN210843176U
授权公告日:2020-06-26
交易方式:转让; 许可
【摘要】:
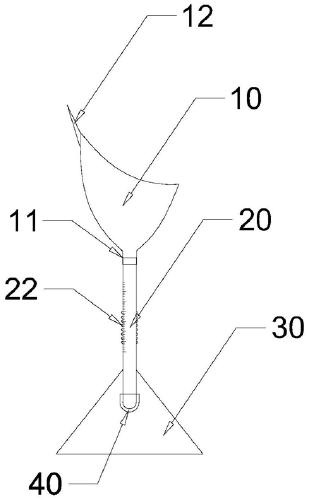
本实用新型提供了一种尿液留取装置,涉及医疗辅助器械技术领域,解决了现有技术中存在的尿液留取操作麻烦的技术问题。包括集尿斗、试管和底座,所述集尿斗呈漏斗状,所述集尿斗的底部出口与所述试管的开口端可拆卸连接,所述集尿斗内部与所述试管内部连通,所述试管的外壁上设置有防滑部,所述防滑部至少覆盖在所述试管的中部,所述底座包括支撑部和卡接部,所述支撑部与所述卡接部连接,所述试管卡接到所述卡接部内,所述支撑部对所述试管及所述集尿斗进行支撑。本实用新型用于患者在做尿检时留取尿液。
【技术领域】:
本实用新型涉及医疗辅助器械技术领域,尤其是涉及一种尿液留取装置。
【实用新型内容】:
本实用新型的目的在于提供一种尿液留取装置,至少用于解决现有技术中存在的尿液留取操作麻烦的技术问题。本实用新型提供的诸多技术方案中的优选技术方案所能产生的诸多技术效果详见下文阐述。
为实现上述目的,本实用新型提供了以下技术方案:
本实用新型提供的尿液留取装置,包括集尿斗、试管和底座,
所述集尿斗呈漏斗状,所述集尿斗的底部出口与所述试管的开口端可拆卸连接,所述集尿斗内部与所述试管内部连通,所述试管的外壁上设置有防滑部,所述防滑部至少覆盖在所述试管的中部,
所述底座包括支撑部和卡接部,所述支撑部与所述卡接部连接,所述试管卡接到所述卡接部内,所述支撑部对所述试管及所述集尿斗进行支撑。
优选地,所述试管与所述集尿斗通过螺纹配合进行连接,
所述集尿斗的底部出口的内壁设置有内螺纹,所述试管开口端的外壁上设置有外螺纹,所述内螺纹与所述外螺纹配合进行连接。
优选地,所述试管与所述集尿斗通过螺纹配合进行连接,
所述集尿斗的底部出口的外壁设置有外螺纹,所述试管开口端的内壁上设置有内螺纹,所述内螺纹与所述外螺纹配合进行连接。
优选地,所述集尿斗上设置有手持部,所述手持部由所述集尿斗的边缘向外侧延伸形成。
优选地,所述防滑部构造为在所述试管的外壁上形成的凸起结构,所述凸起结构设置有多个,多个所述凸起结构沿着所述试管外壁周向分布。
优选地,所述卡接部上形成有卡槽,所述卡槽沿竖直方向形成,其开口朝向所述卡接部的侧方。
优选地,所述支撑部包括支撑结构和连接结构,所述支撑结构构造为板状或环状结构,所述支撑结构水平设置,
所述卡接部位于所述支撑结构上侧,所述连接结构与所述支撑结构和所述卡接部连接,所述连接结构构造为板状或杆状结构,
所述支撑结构和所述卡接部之间形成容纳空间。
优选地,所述试管上设置有试管帽,所述试管帽套装在所述试管的底端,或者,所述试管帽套装在所述试管的开口端。
优选地,所述试管帽构造为弹性结构,所述试管帽与所述试管的底端或开口端紧密配合。
优选地,所述集尿斗的上端呈椭圆形,且所述集尿斗的上端呈倾斜状态。
本实用新型的有益效果为:将集尿斗与试管可拆卸连接在一起,可以直接将收集的尿液导入到试管中,省掉了像试管内倒尿液的过程,使尿液留取更加方便,也避免了二次污染等情况发生。并且,底座的设置使试管的放置也更加方便、可靠。
【附图】:































