授权专利
【实用新型】一种可卸装式腹膜透析导管
专利号:CN201822041357.0
申请日:20181206
发明人:马思慧
法律状态:授权
公开号:CN210301868U
授权公告日:2020-04-14
交易方式:转让; 许可
【摘要】:
本实用新型公开了一种可卸装式腹膜透析导管,包括扩流机构、锁紧机构和透析液带,所述扩流机构的上方分别连接有第一导管和第二第一导管,且第二第一导管位于第一导管的一侧,所述锁紧机构的后端安装有腰带机构,且锁紧机构位于第一导管的上方,所述第一导管的中部安装有限位机构。该可卸装式腹膜透析导管设置的护腰带和裹带,通过裹带、上魔术贴和下魔术贴三者之间的配合根据患者腰部的宽度使裹带固定在患者腰部,能够有效的防止导管掉落或松动,导致导管之间相互缠绕或缠绕在其他物体上,通过护腰带能够有效的为患者提供舒适的护腰环境,能够有效的防止腰部受凉,减少因腰部受凉引发的疾病。
【技术领域】:
本实用新型涉及透析导管技术领域,具体为一种可卸装式腹膜透析导管。
【实用新型内容】:
本实用新型的目的在于提供一种可卸装式腹膜透析导管,以解决上述背景技术中提出现有的导管容易堵塞,不能很好的为导管提供良好扩流机构,能够有效的防止导管出现堵塞的现象,不能很好的对导管进行拆卸,不能很好对导管进行束缚以及为患者提供腰带机构,不能很好的满足人们的使用需求问题。
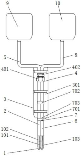
为实现上述目的,本实用新型提供如下技术方案:一种可卸装式腹膜透析导管,包括扩流机构、锁紧机构和透析液带,所述扩流机构的上方分别连接有第一导管和第二第一导管,且第二第一导管位于第一导管的一侧,所述锁紧机构的后端安装有腰带机构,且锁紧机构位于第一导管的上方,所述第一导管的中部安装有限位机构,所述锁紧机构的上方分别连接有第一连接管和第二连接管,且第二连接管位于第一连接管的一侧,所述第二连接管的上方连接有空袋,所述透析液带位于第一连接管的上方。
优选的,所述扩流机构包括透孔、第一管头和第二管头,所述第一管头和第二管头之间的内部均设置有透孔,且第一管头的一侧安装有第二管头,所述透孔的沿第一管头的竖直中心线方向对称分布,且第一管头的竖直中心线平行于第二管头。
优选的,所述腰带机构包括裹带、上魔术贴、护腰带和下魔术贴,所述裹带的后端固定有下魔术贴,且下魔术贴的上方安装有护腰带,所述护腰带的上方安装有上魔术贴,所述护腰带的竖直中心线与裹带的竖直中心线之间相互重合,且裹带的水平中心线垂直于第二第一导管。
优选的,所述锁紧机构包括钛合金螺管、钛合金螺帽、双螺纹护套和耐磨橡胶套,所述钛合金螺管的上方安装有钛合金螺帽,且钛合金螺帽的内部设置有双螺纹护套,所述双螺纹护套的内部设置有耐磨橡胶套。
优选的,所述第一导管通过钛合金螺管和钛合金螺帽之间的配合与第一连接管构成可拆卸结构,且第一连接管分别贯穿于钛合金螺帽的内部和双螺纹护套的内部,并且双螺纹护套包裹于耐磨橡胶套的外部。
优选的,所述限位机构包括第一涤纶套、导向口和第二涤纶套,所述第一涤纶套和第二涤纶套之间的内部均设置有导向口,且第一涤纶套的上方安装有第二涤纶套,所述第一涤纶套的横截面设置为圆环结构,且第一涤纶套的竖直中心线与第二涤纶套的竖直中心线之间相互重合。
与现有技术相比,本实用新型的有益效果如下:
1、本实用新型的内部透孔的设置,通过多个透孔能够有效的增大透析液与人体废物之间的接触面积,能够有效的分散压力,增加虹吸,提高引流速度,防止堵塞,能够有效的提高透析液导入人体腹部的流畅性以及高效性,设置的钛合金螺管和钛合金螺帽,通过钛合金螺管和钛合金螺帽之间的配合能够分别将第一导管与第一连接管之间进行连通,将第二第一导管与第二连接管之间连通,同时能够有效的帮助医护人员对导管进行拆卸维修,或进行快速组装,便于携带;
2、本实用新型的内部护腰带和裹带的设置,通过裹带能够有效的为腹膜透析导管提供可靠的固定位置,通过裹带、上魔术贴和下魔术贴三者之间的配合根据患者腰部的宽度使裹带固定在患者腰部,能够有效的防止导管掉落或松动,导致导管之间相互缠绕或缠绕在其他物体上,通过护腰带能够有效的为患者提供舒适的护腰环境,能够有效的防止腰部受凉,减少因腰部受凉引发的疾病;
3、本实用新型的内部第一涤纶套和第二涤纶套的设置,通过第一涤纶套、导向口和第二涤纶套三者之间的配合能够对第一导管和第一连接管之间进行固定,能够有效的防止第一涤纶套与第二涤纶套之间的第一导管和第一连接管的部分不会分开,同时能够有效的阻挡细菌等病原微生物从导管隧道侵入腹腔引起感染,同时也有防止腹膜透析液外漏功效。
【附图】:




























