授权专利
【实用新型】一种便携式火针点火器
专利号:CN201921533562.7
申请日:20190916
发明人:马思慧
法律状态:授权
公开号:CN210441247U
授权公告日:2020-05-01
交易方式:转让; 许可
【摘要】:
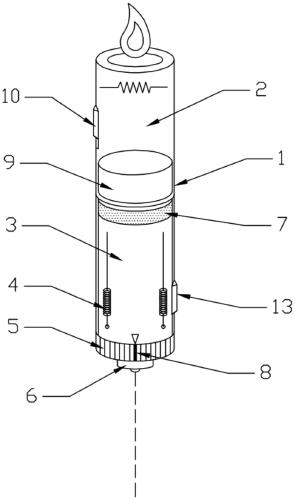
本实用新型公开了一种便携式火针点火器,包括柱形壳体,所述柱形壳体内上部设有打火器主体,所述柱形壳体内下部设有放置空腔,所述放置空腔内设置有火针,所述放置空腔底端开口处连接有旋转盖,所述旋转盖下部设有激光发射器,所述柱形壳体内中部设有电源,所述柱形壳体设有用于电源充电的充电插孔。本实用新型克服现有技术缺点,提供一种便携式火针点火器,结构合理,提供盛装火针便携打火一体的装置,方便携带。
【技术领域】:
本实用新型涉及火针针灸技术领域,具体是指一种便携式火针点火器。
【实用新型内容】:
本实用新型要解决的技术问题是,克服现有技术缺点,提供一种便携式火针点火器,结构合理,提供盛装便携打火一体的装置,方便携带。
为解决上述技术问题,本实用新型提供的技术方案为:一种便携式火针点火器,包括柱形壳体,所述柱形壳体内上部设有打火器主体,所述柱形壳体内下部设有放置空腔,所述放置空腔内设置有火针,所述放置空腔底端开口处连接有旋转盖,所述旋转盖下部设有激光发射器,所述柱形壳体内中部设有电源,所述柱形壳体设有用于电源充电的充电插孔。
作为改进,所述火针尖端朝上,所述放置空腔内顶部固定有保护针尖的海绵层,火针放置在其中可以保护针尖。
作为改进,所述旋转盖通过螺纹连接柱形壳体底端,所述旋转盖外壁上沿周向设有防滑花纹,保护火针封装同时旋拧更加方便。
作为改进,所述旋转盖上设有一个标记条,所述柱形壳体底端外壁上设有和标记条相对应的标记箭头,使得激光开关可以旋转到位,准确使弹性金属片和插接金属片相配合连接电路。
作为改进,所述打火器主体上部开口处内设有火花装置,所述柱形壳体壳体上设有打火开关,所述火花装置电性串联打火开关和电源,所述打火器主体内还包括燃烧气罐,所述燃烧气罐的开口端通过打火开关控制连接,所述打火器主体上设置有用于充气的插孔,类似打火机的原理,实现便携式打火的目的,燃烧气罐内可以是酒精汽、汽油汽等便于燃烧同时便于安全压缩的燃烧气。
作为改进,所述旋转盖内设有对称的W型的弹性金属片,所述弹性金属片一侧导线连接电源负极,所述电源正极导线连接激光发射器通电端一侧,激光发射器通电端另一侧连接弹性金属片另一侧,所述弹性金属片上方设有菱形的插接金属片,所述激光发射器的激光开关设置在柱形壳体下部外壁上,所述激光开关内侧固定连接插接金属片上端,通过滑动激光开关上下移动,弹性金属片和插接金属片相配合连接电路,控制激光发射器的通断。
本实用新型与现有技术相比的优点在于:本实用新型设置的柱形壳体,尺寸大小和一支笔大小类似,方便携带且功能齐全;设置的放置空腔可以容纳多个火针,且能起到很好的保护作用;设置的打火器主体可以解决携带酒精灯等不方便性,方便随之点火加热;设置的激光发射器,可以将其通过支架固定起来或手持后,准确定位好需要针灸的穴位,保证扎针时准确度,提高针灸效果,整体更加小巧、方便携带、也更安全。
【附图】:



























