授权专利
【实用新型】一种便携式大便器
专利号:CN201921816521.9
申请日:20191028
发明人:金侠; 柴雪鑫; 刘沛璇
法律状态:授权
公开号:CN211356265U
授权公告日:2020-08-28
交易方式:转让; 许可
【摘要】:
本实用新型涉及医疗辅助用具技术领域,具体为一种便携式大便器,包括拉拉裤本体,所述拉拉裤本体前方的两端分别缝制有一组魔术母贴,所述拉拉裤本体后方的两端分别缝制有一组魔术子贴,所述拉拉裤本体的内部开设有排泄口,所述拉拉裤本体下表面靠近排泄口的外围位置处固定设置有粘贴垫,所述拉拉裤本体的下方设置有造瘘袋,所述造瘘袋的内侧固定设置有引导膜。本实用新型通过整体设计,拉拉裤本体通过可魔术子贴和魔术母贴可以快速粘在患者腰部两侧,无需来回穿上褪下,减少患者翻动,拉拉裤本体与造瘘袋通过粘接方式相连接,作为容纳大便的器皿,内附有活性炭片,有效减少气体的挥发,也可以减少患者的暴露,使患者在排便的时候更加有尊严。
【技术领域】:
本实用新型涉及医疗辅助用具技术领域,具体是一种便携式大便器。
【实用新型内容】:
为了克服现有技术的上述缺陷,本实用新型的实施例提供一种便携式大便器,通过整体设计,拉拉裤本体通过可魔术子贴和魔术母贴可以快速粘在患者腰部两侧,无需来回穿上褪下,减少患者翻动,拉拉裤本体与造瘘袋通过粘接方式相连接,拉拉裤同时解决了患者在排便的过程中通常伴随排尿的困扰,作为容纳大便的器皿,内附有活性炭片,有效减少气体的挥发,也可以减少患者的暴露,消除排便带来的不适感。
本实用新型的上述实用新型目的是通过以下技术方案得以实现的:
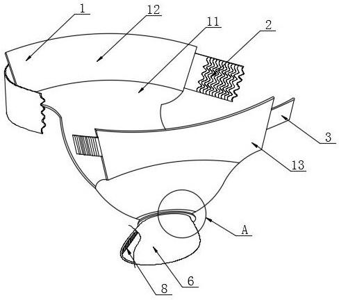
一种便携式大便器,包括拉拉裤本体、魔术子贴、魔术母贴、排泄口、粘贴垫、造瘘袋、粘贴片、活性炭片及引导膜,所述拉拉裤本体前方的两端分别缝制有一组魔术母贴,所述拉拉裤本体后方的两端分别缝制有一组魔术子贴,所述拉拉裤本体的内部开设有排泄口,所述拉拉裤本体下表面靠近排泄口的外围位置处固定设置有粘贴垫,所述拉拉裤本体的下方设置有造瘘袋,所述造瘘袋的内侧固定设置有引导膜。
优选的,所述拉拉裤本体包括有衬垫,所述衬垫的后方缝制有后腰带,所述衬垫的前方缝制有前腰带。
优选的,所述引导膜包括有中间部,所述中间部的下方一体成型设计有下延伸部,所述中间部的上方一体成型设计有上延伸部,所述上延伸部的外表面固定设置有卡贴,所述引导膜上的下延伸部与造瘘袋内侧壁固定连接,所述引导膜上的卡贴与拉拉裤本体上表面通过粘接方式相互连接,所述上延伸部的两侧分别一体成型有护围。
优选的,所述引导膜为PVC材质的构件,所述引导膜的上端口和下端口均呈开口式结构设计。
优选的,所述造瘘袋的内部设置有活性炭片,所述造瘘袋的端口位置处固定设置有粘贴片,所述造瘘袋上的粘贴片与粘贴垫通过粘接方式相互连接。
优选的,所述魔术子贴与魔术母贴通过粘接方式相互连接。
与现有技术相比,本实用新型提供了一种便携式大便器,具备以下有益效果:
1.本实用新型中通过整体设计,拉拉裤本体通过可魔术子贴和魔术母贴可以快速粘在患者腰部两侧,无需来回穿上褪下,减少患者翻动,拉拉裤本体与造瘘袋通过粘接方式相连接,既可以作为容纳大便的器皿,又可以解决患者床上排尿的问题,内附有活性炭片,有效减少气体的挥发,也可以减少患者的暴露,使清醒的卧床患者在床上排便时也不会觉得没有尊严;
2.本实用新型中通过设置了引导膜,将中间部和上延伸部向外拉伸,从而将上延伸部与拉拉裤本体粘接在一起,由引导膜对排泄物进行引导,大大的便利了对排泄物的收集,避免了排泄物发生侧漏造成污染的现象,方便了医护人员进行护理,并且在对造瘘袋进行拆卸时,将引导膜上的上延伸部向内进行翻转,使其封闭住造瘘袋的端口,有效的防止粪便及气味泄露等,可以更有效的减少患者及同病室人员因床上排便带来的困扰和不适。
【附图】:






























