授权专利
【实用新型】一种注射器针头辅助拆卸装置
专利号:ZL202021632681.0
申请日:20200807
发明人:贾春彦
法律状态:授权
公开号:CN213284991U
授权公告日:2021-05-28
交易方式:转让; 许可
【摘要】:
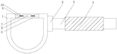
本实用新型公开了一种注射器针头辅助拆卸装置,包括收集桶,所述收集桶的一侧外壁固定连接有安装板,所述安装板的内部螺纹套接有手柄,所述手柄的外壁固定连接有防滑套,所述收集桶的上表面开设有开口,所述开口的两侧内壁均分别固定连接有套筒,两个所述套筒的内部均分别滑动套接有套杆,两个所述套杆相对的一端均分别固定连接有弧形压板,两个所述弧形压板相对的一侧外壁均分别固定连接有耐磨垫,所述弧形压板与套筒之间固定连接有弹簧。本实用新型设计简单,操作方便,可以将针头拧下来,使得针头落入到收集桶的内部,可以将注射器的针帽给固定住,不用单手回帽,不会刺伤人的手指。
【技术领域】:
本实用新型涉及医疗用具技术领域,具体为一种注射器针头辅助拆卸装置。
【实用新型内容】:
本实用新型提供如下技术方案:一种注射器针头辅助拆卸装置,包括收集桶,所述收集桶的一侧外壁固定连接有安装板,所述安装板的内部螺纹套接有手柄,所述手柄的外壁固定连接有防滑套,所述收集桶的上表面开设有开口,所述开口的两侧内壁均分别固定连接有套筒,两个所述套筒的内部均分别滑动套接有套杆,两个所述套杆相对的一端均分别固定连接有弧形压板,两个所述弧形压板相对的一侧外壁均分别固定连接有耐磨垫,所述弧形压板与套筒之间固定连接有弹簧。
作为本实用新型的一种优选实施方式,所述防滑套采用的是橡胶材质,所述防滑套的外壁设有防滑纹。
作为本实用新型的一种优选实施方式,所述耐磨垫是由丁二烯和丙烯腈经乳液聚合制得的无规共聚物。
与现有技术相比,本实用新型的有益效果如下:
本实用新型的一种注射器针头辅助拆卸装置,通过设置有收集桶,可以将针头拧下来,使得针头落入到收集桶的内部;并且通过设置有套筒、套杆、弧形压板、耐磨垫和弹簧,弹簧可以推动弧形压板,使得两个弧形压板分别推动着两个耐磨垫相互靠近,可以将注射器的针帽给固定住,不用单手回帽,不会刺伤人的手指;本实用新型设计简单,操作方便,可以将针头拧下来,使得针头落入到收集桶的内部,可以将注射器的针帽给固定住,不用单手回帽,不会刺伤人的手指。
【附图】:



























