授权专利
【实用新型】一种有效期打印装置
专利号:ZL202021471238.X
申请日:20200723
发明人:赵磊
法律状态:授权
公开号:CN212685031U
授权公告日:2021-03-12
交易方式:转让; 许可
【摘要】:
本实用新型涉及日期打印装置技术领域,具体是一种有效期打印装置,所述装置外壳的内侧位于底端位置处通过螺纹转动连接有打印底盖,且装置外壳的顶端滑动插设有连杆,所述连杆的顶端固定有数字选择转盘,且连杆的底端固定有数字转盘,所述连杆的外侧位于装置外壳的内部顶端位置处固定有限位凸环,所述数字转盘的底端设置有十个呈圆周排列的印文伸缩杆。本实用新型设计新颖,结构巧妙,方便打印表面不平的物体,通过转动数字选择转盘选择需要打印的数字,一次打印一个数字,可以防止物体表面不平导致一串数字打印不清晰,且操作简便快捷,使用方便,通过印文伸缩杆,在打印的同时使另外九个打印盘蘸取墨水,提高打印质量。
【技术领域】:
本实用新型涉及日期打印装置技术领域,具体是一种有效期打印装置。
【实用新型内容】:
本实用新型的目的在于提供一种有效期打印装置,以解决上述背景技术中提出的至少一个问题。
为实现上述目的,本实用新型提供如下技术方案:
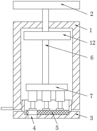
一种有效期打印装置,包括装置外壳,所述装置外壳的内侧位于底端位置处通过螺纹转动连接有打印底盖,且装置外壳的顶端滑动插设有连杆,所述连杆的顶端固定有数字选择转盘,且连杆的底端固定有数字转盘,所述连杆的外侧位于装置外壳的内部顶端位置处固定有限位凸环,所述数字转盘的底端设置有十个呈圆周排列的印文伸缩杆,所述打印底盖的内部底端设置有墨盘,且打印底盖的底端位于一侧位置处开设有打印孔,所述墨盘的表面对应打印孔的位置处开设有与打印孔相同大小的孔洞。
作为本实用新型再进一步的方案:所述印文伸缩杆包括呈圆周固定于数字转盘一端的十个固定杆,十个所述固定杆的内侧均滑动连接有弹簧凸环,十个所述弹簧凸环的一端均连接有弹簧,十个所述弹簧的一端分别与十个固定杆的内部一端相连接,十个所述弹簧凸环的另一端均固定有打印伸缩杆,十个所述打印伸缩杆的一端均固定有打印盘,十个所述打印盘的外径均为打印孔的内径的0.8倍。
作为本实用新型再进一步的方案:十个所述打印盘的底端均粘贴有印文,十个所述印文的表面分别设置有“0‑9”十个数字。
作为本实用新型再进一步的方案:所述数字选择转盘的上端对应数字转盘底端十个印文伸缩杆的位置处均开设有凹槽,十个所述凹槽内部分别设置有“0‑9”十个数字,所述数字选择转盘的侧面刻画有防滑槽。
作为本实用新型再进一步的方案:所述装置外壳的外侧底端位于打印孔的一侧位置处固定有指示针,且装置外壳采用聚乙烯材质的构件。
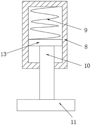
作为本实用新型再进一步的方案:十个所述弹簧凸环的外径均与十个固定杆的内径相配合,且十个弹簧凸环与十个固定杆的内侧均加注有润滑油。
作为本实用新型再进一步的方案:所述数字选择转盘上设有齿轮,所述有效期打印装置还包括驱动所述齿轮的电机、以及与所述电机连接的控制器;所述控制器连接有存储器;所述存储器存储有药品名称数据及药品名称所对应的有效期时长;所述控制器还连接有用于输入药品名称的输入模块。
与现有技术相比,本实用新型的有益效果是:本实用新型设计新颖,结构巧妙,方便打印表面不平的物体,通过转动数字选择转盘选择需要打印的数字,一次打印一个数字,可以防止物体表面不平导致一串数字打印不清晰,且操作简便快捷,使用方便,通过印文伸缩杆,在打印的同时使另外九个打印盘蘸取墨水,提高打印质量。
【附图】:






























