授权专利
【实用新型】一种医用胸带
专利号:ZL202021651156.3
申请日:20200810
发明人:梁艳红
法律状态:授权
公开号:CN213252408U
授权公告日:2021-05-25
交易方式:转让; 许可
【摘要】:
本实用新型涉及一种医用胸带,属于医疗用品技术领域,该医用胸带包括背部胸带和用于固定引流管的固定装置,背部胸带的两端分别设有多条第一胸带和第二胸带,相邻两条第一胸带之间或第二胸带之间均设有可容引流管穿过的间隙,第一胸带的自由端与第二胸带的自由端可拆卸连接,固定装置可拆卸固定在任意一条第一胸带或第二胸带上,采用该结构,通过背部胸带两端的第一胸带和第二胸带固定好胸廓,引流管从穿刺部位引出后可从第一胸带之间的间隙或第二胸带之间的间隙伸出来,引流管不会受到第一胸带或第二胸带的压迫,可保持引流通畅,也不会损伤皮肤,伸出后的引流管通过固定装置固定在第一胸带或第二胸带外侧,使引流管保持固定不会发生位移或脱管。
【技术领域】:
本实用新型属于医疗用品技术领域,特别涉及一种医用胸带。
【实用新型内容】:
本实用新型提供一种医用胸带,用以解决现有技术中的胸带对于固定胸腔引流管的牢固性不能保证的技术问题。
本实用新型通过下述技术方案实现:一种医用胸带,包括背部胸带和用于固定引流管的固定装置,所述背部胸带的两端分别设有多条第一胸带和第二胸带,相邻两条所述第一胸带之间或第二胸带之间均设有可容所述引流管穿过的间隙,所述第一胸带的自由端与所述第二胸带的自由端可拆卸连接,所述固定装置可拆卸固定在任意一条所述第一胸带或第二胸带上。
进一步地,为了更好地实现本实用新型,每条所述第一胸带的表面均设有第一棉毛层,每条所述第二胸带的表面均设有第二棉毛层,每条所述第一胸带的自由端内侧均设有第一带勾面,所述第一胸带通过第一带勾面与对应位置的第二胸带上的第二棉毛层粘接固定。
进一步地,为了更好地实现本实用新型,多条所述第一胸带平行布置,多条所述第二胸带平行布置。
进一步地,为了更好地实现本实用新型,相邻两条所述第一胸带的第一带勾面与对应位置的两条所述第二胸带交叉粘接。
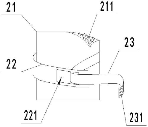
进一步地,为了更好地实现本实用新型,所述固定装置包括固定贴、第一绑带和第二绑带,所述第一绑带固定在所述固定贴一端,所述第二绑带固定在所述固定贴另一端,所述固定贴的内侧设有第二带勾面以与所述第一棉毛层或第二棉毛层粘接固定。
进一步地,为了更好地实现本实用新型,所述第一绑带上设有穿孔,所述第二绑带的内侧设有第三带勾面,所述第二绑带穿过所述穿孔后折回粘接在所述第一棉毛层或第二棉毛层上。
进一步地,为了更好地实现本实用新型,所述固定装置的数量为至少两个,所述固定装置沿所述引流管的走向固定在对应位置的所述第一胸带或第二胸带上。
进一步地,为了更好地实现本实用新型,所述固定贴为尼龙布,所述第一绑带和第二绑带为尼龙带。
进一步地,为了更好地实现本实用新型,所述第一胸带和第二胸带均为弹力棉或松紧带。
进一步地,为了更好地实现本实用新型,所述背部胸带为纯棉或三明治棉。
本实用新型相较于现有技术具有以下有益效果:
本实用新型提供的医用胸带包括背部胸带和用于固定引流管的固定装置,背部胸带的两端分别设有多条第一胸带和第二胸带,相邻两条第一胸带之间或第二胸带之间均设有可容引流管穿过的间隙,第一胸带的自由端与第二胸带的自由端可拆卸连接,固定装置可拆卸固定在任意一条第一胸带或第二胸带上,采用该结构,通过背部胸带两端的第一胸带和第二胸带固定好胸廓,引流管从穿刺部位引出后可从第一胸带之间的间隙或第二胸带之间的间隙伸出来,引流管不会受到第一胸带或第二胸带的压迫,从而可保持引流通畅,也不会损伤皮肤,伸出后的引流管通过固定装置固定在第一胸带或第二胸带外侧,使引流管保持固定不会发生位移或脱管,使得本实用新型的实用性更强。
【附图】:



























