授权专利
【实用新型】一种医用垃圾袋及垃圾袋收纳装置
专利号:ZL202021568126.6
申请日:20200801
发明人:钟鑫
法律状态:授权
公开号:CN212668212U
授权公告日:2021-03-09
交易方式:转让; 许可
【摘要】:
本实用新型公开了一种医用垃圾袋及垃圾袋收纳装置,涉及到垃圾袋领域,包括主收纳箱的上方设有次收纳箱,主收纳箱中置有贴合主收纳箱内壁的内垃圾袋,次收纳箱中置有贴合次收纳箱内壁的外垃圾袋,主收纳箱和次收纳箱的口部相近,主收纳箱和次收纳箱的外部设有矩形框,主收纳箱的底端活动贴合在矩形框的下端内壁上,次收纳箱的顶部与矩形框之间固定设有推动机构,次收纳箱中的外垃圾袋可套设于主收纳箱中的内垃圾袋外部,在内垃圾袋存满之后从内垃圾袋外部形成从口部再一次包覆固定的方式,然后可通过转动机构带动整体转动,再将暴露在外的内垃圾袋完全包覆,在清理时不易产生接触感染,保护性较强,外垃圾袋口部朝上后取出,方便实用。
【技术领域】:
本实用新型涉及垃圾袋领域,特别涉及一种医用垃圾袋及垃圾袋收纳装置。
【实用新型内容】:
本实用新型提供如下技术方案:一种医用垃圾袋,包括内垃圾袋,所述内垃圾袋的口部向外翻边,所述内垃圾袋的上方设有可套设于内垃圾袋外部的外垃圾袋,所述外垃圾袋的端部设有可弹性变形的弹性绳。
本实用新型还公开了一种垃圾袋收纳装置,包括如上所述的医用垃圾袋,还包括:
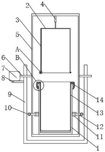
主收纳箱,所述主收纳箱的上方设有次收纳箱,所述主收纳箱中置有贴合主收纳箱内壁的内垃圾袋,所述次收纳箱中置有贴合次收纳箱内壁的外垃圾袋,所述主收纳箱和次收纳箱的口部相近,所述主收纳箱和次收纳箱的外部设有矩形框,所述主收纳箱的底端活动贴合在矩形框的下端内壁上,次收纳箱的顶部与矩形框之间固定设有推动机构,所述主收纳箱的两侧均固定设有定位筒,所述矩形框上设有活动贯穿其内外表面并活动插合于定位筒内部的定位杆,所述定位杆的外端一体设有拉环,所述矩形框的底端外部设有作为总支撑的凹字形框架,所述矩形框的两侧均固定有活动贯穿凹字形框架两侧的矩形框支撑轴,一端的矩形框支撑轴端部传动连接有转动机构,所述凹字形框架的侧面固定有支撑在转动机构底部的基板,所述主收纳箱的端部设有可收口内垃圾袋的收口机构。
优选的,所述次收纳箱的底端开口处一体设有向外并供弹性绳套设的翻边。
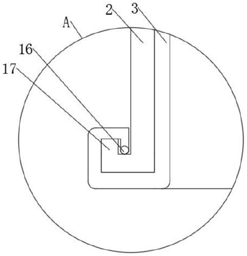
优选的,所述收口机构包括三组组成内外直径分别与主收纳箱内外直径一致的弧形板,三组弧形板上下交错分布并位于主收纳箱的开口处。
优选的,所述主收纳箱的外圈处固定设有导向环板,所述导向环板外圈设有围绕在主收纳箱外圈的转动环板,所述转动环板的顶部固定设有基环,所述基环靠近主收纳箱的一侧固定设有对应三组弧形板的三组推移单元,所述推移单元的端部固定在弧形板的外圈处。
优选的,所述转动环板通过低级移动副并可沿着导向环板外圈转动的连接在导向环板上。
优选的,所述转动环板的内侧固定设有齿轮槽,所述导向环板的表面固定焊接有动力机构,所述动力机构的转轴上固定设有与齿轮槽啮合传动的齿轮。
本实用新型的技术效果和优点:
1、本实用新型的一种医用垃圾袋及垃圾袋收纳装置,主收纳箱的上方设有次收纳箱,主收纳箱中置有贴合主收纳箱内壁的内垃圾袋,次收纳箱中置有贴合次收纳箱内壁的外垃圾袋,主收纳箱和次收纳箱的口部相近,主收纳箱和次收纳箱的外部设有矩形框,主收纳箱的底端活动贴合在矩形框的下端内壁上,次收纳箱的顶部与矩形框之间固定设有推动机构,次收纳箱中的外垃圾袋可套设于主收纳箱中的内垃圾袋外部,在内垃圾袋存满之后从内垃圾袋外部形成从口部再一次包覆固定的方式,然后可通过转动机构带动整体转动,再将暴露在外的内垃圾袋完全包覆,在清理时不易产生接触感染,保护性较强,外垃圾袋口部朝上后取出,方便实用;
2、本实用新型的一种医用垃圾袋及垃圾袋收纳装置,主收纳箱的两侧均固定设有定位筒,矩形框上设有活动贯穿其内外表面并活动插合于定位筒内部的定位杆,定位杆的外端一体设有拉环,矩形框的底端外部设有作为总支撑的凹字形框架,矩形框的两侧均固定有活动贯穿凹字形框架两侧的矩形框支撑轴,一端的矩形框支撑轴端部传动连接有转动机构,凹字形框架的侧面固定有支撑在转动机构底部的基板,主收纳箱的端部设有可收口内垃圾袋的收口机构,收口机构包括三组组成内外直径分别与主收纳箱内外直径一致的弧形板,三组弧形板上下交错分布并位于主收纳箱的开口处,三组弧形板缩紧时,将内垃圾袋的口部锁紧,然后通过动力机构带动齿轮转动,齿轮与齿轮槽啮合,转动环板转动,转动时带动三组弧形板同步转动,将内垃圾袋口部拧绕封口,使用常规垃圾袋即可实现封口操作,代替了带有提手或者其他装置的垃圾袋,降低了垃圾袋的生产难度。
【附图】:






























