授权专利
【实用新型】一种液氮冷冻治疗仪
专利号:ZL202020239948.3
申请日:20200302
法律状态:授权
公开号:CN212326554U
授权公告日:2021-01-12
交易方式:转让; 许可
【摘要】:
本实用新型提供了一种液氮冷冻治疗仪,属于医疗器械技术领域。该液氮冷冻治疗仪包括存储罐、密封组件和喷头组件。所述存储罐包括罐体和把手,所述把手安装在所述罐体的一侧,所述密封组件包括密封盖和喷管,所述喷管安装在所述密封盖的顶面,所述喷头组件包括第一连接板、第二连接板和冷冻头,所述第一连接板和所述第二连接板之间通过转轴转动连接,所述通槽的内部固定有第一磁铁,所述冷冻头的外表面固定有环形凸缘,所述环形凸缘的表面固定有第二磁铁,所述第二磁铁吸附在所述第一磁铁的表面,所述冷冻头的一端螺接在喷管的端部。本实用新型可以方便对冷冻头进行存放,使冷冻头的更换更加的简单方便。
【技术领域】:
本实用新型涉及医疗器械领域,具体而言,涉及一种液氮冷冻治疗仪。
【实用新型内容】:
本实用新型提供了一种液氮冷冻治疗仪,旨在改善液氮冷冻治疗仪,冷冻喷头寻找和更换比较麻烦的问题。
本实用新型是这样实现的:
本实用新型提供一种液氮冷冻治疗仪,包括存储罐、密封组件和喷头组件。
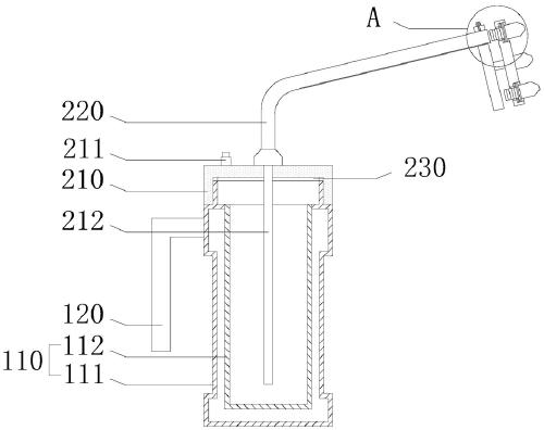
所述存储罐包括罐体和把手,所述把手安装在所述罐体的一侧,所述密封组件包括密封盖和喷管,所述密封盖螺接在所述罐体的上端外表面,所述喷管安装在所述密封盖的顶面,所述喷头组件包括第一连接板、第二连接板和冷冻头,所述第一连接板和所述第二连接板之间通过转轴转动连接,所述第一连接板的上端滑动套接在所述喷管的外表面,所述第二连接板的内部开设有通槽,所述通槽的内部固定有第一磁铁,所述冷冻头的外表面固定有环形凸缘,所述环形凸缘的表面固定有第二磁铁,所述第二磁铁吸附在所述第一磁铁的表面,所述冷冻头的一端螺接在喷管的端部。
在本实用新型的一种实施例中,所述罐体包括外罐体和内胆,所述内胆一体成型于外罐体的内部,所述外罐体与所述内胆之间形成真空腔,所述把手安装在外罐体的外表面。
在本实用新型的一种实施例中,所述密封盖的顶面安装有通气孔开关,所述通气孔开关位于喷管的一侧。
在本实用新型的一种实施例中,所述喷管的底部连通有导管,所述导管延伸至内胆的底部。
在本实用新型的一种实施例中,所述密封盖的内部通过胶水黏贴有密封圈,所述密封圈与所述外罐体的顶面紧贴。
在本实用新型的一种实施例中,所述第一连接板的内部开设有与所述喷管相匹配的通孔,所述喷管与所述通孔的内表面滑动连接。
在本实用新型的一种实施例中,所述通孔的内表面固定有限位滑块,所述喷管的表面开设有与所述限位滑块相匹配的限位滑槽。
在本实用新型的一种实施例中,所述第一连接板的外表面安装有锁紧件,所述锁紧件位于所述通孔的一侧。
在本实用新型的一种实施例中,所述锁紧件包括螺纹柱和旋钮,所述螺纹柱固定在所述旋钮的一侧,所述螺纹柱螺接于所述第一连接板的内部,所述螺纹柱的端部与所述喷管的外表面紧贴。
在本实用新型的一种实施例中,所述第二磁铁的一侧黏贴有密封垫,所述密封垫与所述第一磁铁的外表面紧贴。
本实用新型的有益效果是:本实用新型通过上述设计得到的一种液氮冷冻治疗仪,在需要更换冷冻头时,可以移动第一连接板和第二连接板,使喷管的端部位于第一连接板和第二连接板之间,然后转动冷冻头并脱离喷管的端部,由于第一磁铁和第二磁铁的设置,可以将冷冻头吸附在通槽的内部,这样可以方便对冷冻头进行存放不易丢失,然后转动第二连接板使另一个冷冻头对准喷管的端部并螺接到喷管的内部,这样可以方便对冷冻头进行存放,使冷冻头的更换更加的简单方便。
【附图】:





























