授权专利
【实用新型】一种血液透析管道固定夹
专利号:ZL202021158133.9
申请日:20200619
发明人:邓冬梅
法律状态:授权
公开号:CN213219786U
授权公告日:2021-05-18
交易方式:转让; 许可
【摘要】:
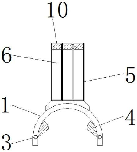
本实用新型公开了一种血液透析管道固定夹,包括固定套管和固定筒,所述固定套管的外壁表面镶嵌有预留槽,且预留槽的中间位置连接有旋转轴,并且旋转轴的外部通过扭簧与限位块的底部外侧相连接,所述固定套管的顶端上方位置与固定筒的底部相连接,且固定筒顶端中间位置安装有中间轴,并且中间轴的外部套设有旋转套,所述旋转套的外部一体安装有旋转环,且旋转环的内侧通过连接杆与中间管的外壁相连接。该血液透析管道固定夹,固定套管的内部设置有限位块,且限位块可以绕旋转轴进行旋转工作,保证在整个固定套管与护栏进行安装的时候,在限位块的作用下可以保证安装的稳定性,不会出现安装不稳定的现象发生。
【技术领域】:
本实用新型涉及血液透析相关技术领域,具体为一种血液透析管道固定夹。
【实用新型内容】:
本实用新型的目的在于提供一种血液透析管道固定夹,以解决上述背景技术提出的目前市场上的血液透析固定夹在进行使用的时候,占用空间较大,以及在进行安装的时候,会出现固定套管安装不稳定的问题。
为实现上述目的,本实用新型提供如下技术方案:一种血液透析管道固定夹,包括固定套管和固定筒,所述固定套管的外壁表面镶嵌有贯穿槽,且贯穿槽的中间位置连接有旋转轴,并且旋转轴的外部通过扭簧与限位块的底部外侧相连接,所述固定套管的顶端上方位置与固定筒的底部相连接,且固定筒顶端中间位置安装有中间轴,并且中间轴的外部套设有旋转套,所述旋转套的外部一体安装有旋转环,且旋转环的内侧通过连接杆与中间管的外壁相连接。
优选的,所述限位块的下方呈倾斜状结构设置,且限位块为橡胶材质设置,并且限位块在固定套管的内壁对称设置有2个。
优选的,所述固定筒的中间为贯穿的空心状结构设置,并且固定筒的中间上方位置为开口结构,并且固定筒的内部等间距的设置有3个旋转环。
优选的,所述旋转环的外部与旋转套的外部为一体安装,且旋转套的内侧镶嵌有卡合槽,并且卡合槽呈弧形结构设置,同时卡合槽的内侧为粗糙表面。
优选的,所述中间轴顶端外部等角度的镶嵌有预留槽,且预留槽的内部通过复位弹簧与滚珠的底部相连接。
优选的,所述滚珠的外部与卡合槽之间相互卡合,且滚珠在预留槽的内部为伸缩结构。
与现有技术相比,本实用新型的有益效果是:该血液透析管道固定夹;
1、固定套管的内部设置有限位块,且限位块可以绕旋转轴进行旋转工作,保证在整个固定套管与护栏进行安装的时候,在限位块的作用下可以保证安装的稳定性,不会出现安装不稳定的现象发生;
2、固定筒的内部设置有可以旋转的旋转环,旋转环旋转的时候,便可以在不同角度上对管道进行固定,且后续还方便对旋转环进行收纳,不会占用大量的空间,旋转环内部的中间管和连接杆的设置还可以对管道进行弯折,达到方便对管道长度进行控制的效果。
【附图】:






























