授权专利
【实用新型】一种稳定移动的护理车
专利号:ZL202020638598.8
申请日:20200424
发明人:谢海玉
法律状态:授权
公开号:CN212490582U
授权公告日:2021-02-09
交易方式:转让; 许可
【摘要】:
本实用新型涉及医疗器械技术领域,且公开了一种稳定移动的护理车,包括安装座,所述安装座的顶部固定连接有储存箱,所述安装座左侧的顶部固定连接有把手,所述安装座底部的四角均开设有固定槽。该稳定移动的护理车,通过固定槽、限位板、固定杆和缓冲球对该护理车进行减震,避免其在行走过程中发生较大的颠簸,造成侧翻等情况,同时通过张紧弹簧进一步对其进行减震,使万向轮在颠簸过程中能够更快复位,进一步的减少其受到的震动,使其能够更为稳定的移动,然后通过支撑块对该护理车进行支撑,避免其在使用过程中发生晃动,从而达到了结构简单,移动更为便利和稳定且在使用过程中更为稳固的目的。
【技术领域】:
本实用新型涉及医疗器械技术领域,具体为一种稳定移动的护理车。
【实用新型内容】:
(一)解决的技术问题
针对现有技术的不足,本实用新型提供了一种稳定移动的护理车,具备结构简单,移动更为便利和稳定且在使用过程中更为稳固等优点,解决了现有技术中的护理车不够稳定,在行走过程中容易碰到凸块等杂物造成其侧翻,引起较大的不便,且在到达指定地点时不能将其稳固的固定住,这就导致护士在拿取物品时护理车容易晃动,降低护士的工作效率的问题。
(二)技术方案
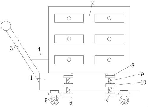
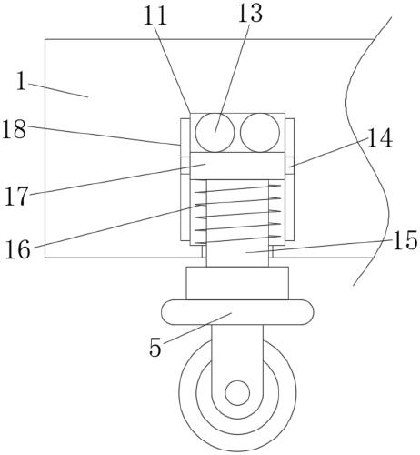
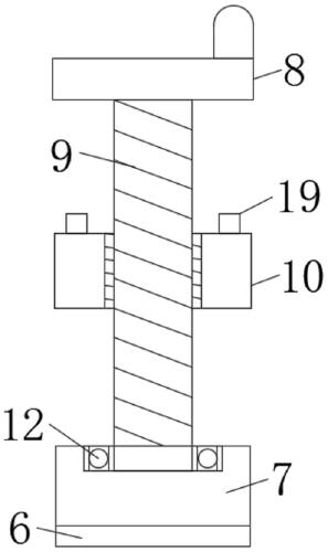
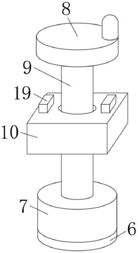
为实现上述结构简单,移动更为便利和稳定且在使用过程中更为稳固的目的,本实用新型提供如下技术方案:一种稳定移动的护理车,包括安装座,所述安装座的顶部固定连接有储存箱,所述安装座左侧的顶部固定连接有把手,所述安装座底部的四角均开设有固定槽,所述固定槽的内部滑动连接有限位板,所述限位板的底部固定连接有固定杆,所述固定杆的底端并位于安装座的底部固定连接有万向轮,所述限位板的顶部活动连接有缓冲球,所述缓冲球的顶部与固定槽的内壁接触,所述限位板的底部并位于固定杆的表面固定连接有张紧弹簧,所述张紧弹簧的底端与固定槽的内壁固定连接,所述安装座正面和背面的两侧均固定连接有固定板,所述固定板的顶部螺纹连接有螺纹杆,所述螺纹杆的底端并位于固定板的下方活动连接有支撑块。
优选的,所述把手的右侧固定连接有连接杆,所述连接杆的右端与储存箱固定连接。
优选的,所述限位板的两侧均固定连接有滑块,所述固定槽的内壁开设有与滑块对应的滑槽,所述滑块滑动连接于滑槽的内部。
优选的,所述螺纹杆的顶端并位于固定板的上方固定连接有借力块,所述借力块顶部的一侧固定连接有凸块。
优选的,所述支撑块的顶部固定连接有轴承,所述螺纹杆的底端与轴承的内圈固定连接。
优选的,所述支撑块的底部固定连接有防滑垫,所述固定板顶部的两侧均固定连接有限位块。
(三)有益效果
与现有技术相比,本实用新型提供了一种稳定移动的护理车,具备以下有益效果:
1、该稳定移动的护理车,通过固定槽、限位板、固定杆和缓冲球对该护理车进行减震,避免其在行走过程中发生较大的颠簸,造成侧翻等情况,同时通过张紧弹簧进一步对其进行减震,使万向轮在颠簸过程中能够更快复位,进一步的减少其受到的震动,使其能够更为稳定的移动,然后通过支撑块对该护理车进行支撑,避免其在使用过程中发生晃动,从而达到了结构简单,移动更为便利和稳定且在使用过程中更为稳固的目的。
2、该稳定移动的护理车,通过连接杆和把手使得该护理车更为方便推动,通过滑块和滑槽对限位板进行限位,避免其在上下移动的过程中发生偏移,通过借力块和凸块使得螺纹杆的转动更为便利,然后通过轴承避免支撑块跟随螺纹杆转动,造成其损坏,通过防滑垫使得该护理车安装更为稳固,然后通过限位块对支撑块进行限位,使其向下移动的距离相同,避免高低不平造成护理车安装不够稳固。
【附图】:






























