授权专利
【实用新型】一种胎膜早破保护机构
专利号:ZL202021405950.X
申请日:20200716
发明人:田丹
法律状态:授权
公开号:CN213098950U
授权公告日:2021-05-04
交易方式:转让; 许可
【摘要】:
本实用新型属于医疗辅具领域,尤其是一种胎膜早破保护机构,针对现有的胎膜早破病人臀部抬高用枕头或抬高床尾难以调节臀部抬高的高度,难以适用于不同的胎膜早破的病人,适用范围较小,患者依从性差的问题,现提出如下方案,其包括安装箱,安装箱的外顶壁的四角均开设有升降孔,升降孔的内部活动套接有升降柱,四个升降柱的顶端延伸至安装箱的上方且固定连接有支撑板,支撑板的顶壁上固定有支撑垫,四个升降柱的底端延伸至安装箱的内部且固定连接有升降板,安装箱的两侧内侧壁上分别通过轴承转动连接有第一螺杆和第二螺杆,本实用新型可调节臀部抬高的高度,适用于不同的胎膜早破的病人,适用范围较广,自动化程度较高,人工劳动量较小。
【技术领域】:
本实用新型涉及医疗辅具技术领域,尤其涉及一种胎膜早破保护机构。
【实用新型内容】:
本实用新型提出的一种胎膜早破保护机构,解决了现有的胎膜早破病人臀部抬高用枕头或床尾抬高难以调节臀部抬高的高度,难以适用于不同的胎膜早破的病人,适用范围较小;患者依从性差的问题。
为了实现上述目的,本实用新型采用了如下技术方案:
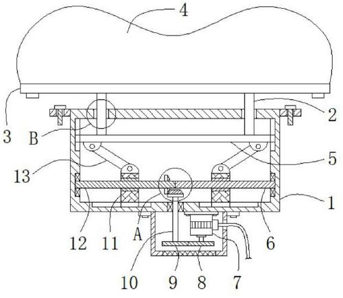
一种胎膜早破保护机构,包括安装箱,所述安装箱的外顶壁的四角均开设有升降孔,所述升降孔的内部活动套接有垂直的升降柱,四个所述升降柱的顶端延伸至安装箱的上方且固定连接有水平的支撑板,所述支撑板的顶壁上固定有支撑垫,四个所述升降柱的底端延伸至安装箱的内部且固定连接有水平的升降板,位于升降板下侧的所述安装箱的两侧内侧壁上分别通过轴承转动连接有水平的第一螺杆和水平的第二螺杆,所述第一螺杆与所述第二螺杆相互靠近的一端固定连接,所述安装箱的内底壁的两侧均滑动连接有传动块,两个所述传动块分别螺旋配合连接在所述第一螺杆的外圈和所述第二螺杆的外圈,所述升降板的底壁的两侧均铰接有呈倾斜设置的连接杆,两个所述连接杆的底端分别铰接在两个所述传动块的底端,位于两个传动块之间的所述第二螺杆的外圈固定套接有锥齿圈,所述安装箱的底壁的中间位置通过轴承转动连接有垂直的转轴,所述转轴的顶端延伸至安装箱的内部且固定连接有锥齿轮,锥齿轮与锥齿圈啮合连接,所述转轴的底端延伸至安装箱的下方且固定连接有第二齿轮,位于转轴一侧的所述安装箱的外底壁上安装有步进电机,步进电机的输出端固定连接有第一齿轮,第一齿轮与第二齿轮啮合连接。
优选的,所述安装箱顶部的两侧外侧壁上均焊接有垂直的螺栓套,螺栓套的内圈活动套接有固定螺栓。
优选的,所述支撑垫为硅胶材质,所述支撑垫的顶壁呈凹弧形。
优选的,所述安装箱顶部的两侧内侧壁上均沿高度方向开设有第一滑槽,第一滑槽的内部滑动设置有第一滑块,所述升降板固定在两个第一滑块之间。
优选的,位于转轴两侧的所述安装箱的内底壁上均沿长度方向开设有第二滑槽,第二滑槽的内部滑动设置有第二滑块,两个所述传动块分别固定在两个第二滑块的顶端。
优选的,所述第一螺杆的螺纹方向与所述第二螺杆的螺纹方向相反,两个所述连接杆呈“V”型设置。
本实用新型的有益效果:
通过支撑箱、第一螺杆、第二螺杆、传动块、连接杆、升降板、升降孔、升降柱、支撑板和支撑垫的配合作用,可调节臀部抬高的高度,适用于不同的胎膜早破的病人,适用范围较广。
通过安装箱、步进电机、转轴、第一齿轮、第二齿轮、第一螺杆、第二螺杆、锥齿轮、锥齿圈、连接杆和升降板的配合作用,可自动调节臀部抬高的高度,操作简单,自动化程度较高,人工劳动量较小。
本实用新型设计新颖,可调节臀部抬高的高度,适用于不同的胎膜早破的病人,适用范围较广,操作简单,自动化程度较高,人工劳动量较小。
【附图】:





























