授权专利
【实用新型】一种多功能移动输液架
专利号:ZL202021729661.5
申请日:20200818
发明人:李赛
法律状态:授权
公开号:CN213251997U
授权公告日:2021-05-25
交易方式:转让; 许可
【摘要】:
本实用新型提供了一种多功能移动输液架,涉及医疗器械技术领域,解决了现有技术中存在的现有输液杆使用不便的技术问题,包括从上到下依次设置的上支撑装置、下支撑装置和移动底座,所述上支撑装置与所述下支撑装置可拆卸连接,所述上支撑装置包括上支撑杆、置物板和固定装置,所述上支撑杆的顶端设置有挂钩部;所述置物板和所述固定装置设置在所述上支撑杆上;本实用新型通过挂钩部能够实现吊瓶的挂设,通过置物板能够放置输液泵,通过移动底座能够根据实际需要进行任意移动,通过固定装置以及可拆卸连接的上支撑装置和下支撑装置,能够选择安装在病床或者轮椅上,不但使用方便,而且操作便捷,同时能够适用于多种场景,功能多样。
【技术领域】:
本实用新型涉及医疗器械技术领域,具体涉及一种多功能移动输液架。
【实用新型内容】:
本实用新型的目的是提供一种多功能移动输液架,以解决现有技术中存在的现有输液杆使用不便的技术问题;本实用新型提供的诸多技术方案中的优选技术方案所能产生的诸多技术效果(置物板底部设置有连接座,连接座底部设置有安装部,下支撑杆能够通过安装部安装在连接座底部,下支撑杆用于支撑上支撑装置;移动底座包括底座本体和移动轮,形成可移动输液杆,使用方便;上支撑杆设置为伸缩杆,挂钩部设置在伸缩杆上,在实际使用的过程中,能够根据实际需要调节伸缩杆的长度,进而实现挂钩部高度的调节;挂钩部数量设置为多个,能够同时挂设多个吊瓶;固定装置包括固定座和扶手夹持组件,通过扶手夹持组件加持在轮椅扶手或者病床扶手上,扶手夹持组件包括夹持执行机构和夹持传动机构,夹持传动机构用于动力的输入和传动,夹持执行机构直接用于夹持扶手;夹持执行机构包括固定夹持件和活动夹持件,活动夹持件和固定夹持件相互配合,夹持效果显著;活动夹持件上设置有滑槽,固定座上设置有导向件,滑槽与导向件滑动配合,滑动过程更加平稳;夹持传动机构包括传动丝杆和调节旋钮,活动加持件设置有传动螺母,传动丝杆和传动螺母形成螺母丝杆结构,能够带动活动加持件沿传动丝杆轴向移动,并且具有自锁功能,调节旋钮用于动力的输入;传动丝杆和传动螺母的数量设置为两个,传动丝杆通过齿轮传动结构与调节旋钮相连,一方面移动更加稳固,另一方面自锁效果显著,夹持紧固等);详见下文阐述。
为实现上述目的,本实用新型提供了以下技术方案:
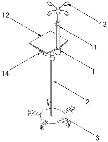
本实用新型提供的一种多功能移动输液架,包括移动底座、上支撑装置和下支撑装置,所述下支撑装置设置在所述移动底座上,所述上支撑装置可拆卸设置在所述下支撑装置上,其中:所述上支撑装置包括上支撑杆、置物板和固定装置,所述上支撑杆的顶端设置有挂钩部;所述置物板设置在所述上支撑杆上;所述固定装置设置在所述上支撑杆上且位于所述置物板的下侧,所述固定装置能安装在轮椅或病床上。
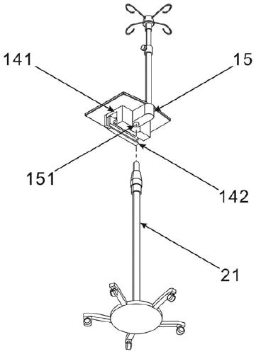
优选地,所述置物板的底部设置有连接座,所述下支撑装置包括下支撑杆,所述连接座的底部设置有安装部,所述下支撑杆的顶部与所述安装部可拆卸相连。
优选地,所述移动底座包括底座本体和移动轮,其中:所述移动轮设置在所述底座本体的底部;所述下支撑杆的底端设置在所述底座本体的顶部。
优选地,所述上支撑杆设置为伸缩杆,所述挂钩部设置在所述伸缩杆的伸缩端上。
优选地,所述挂钩部的数量至少设置为两个,所有所述挂钩部周向均匀设置在所述上支撑杆的顶端。
优选地,所述固定装置包括固定座和扶手夹持组件,所述扶手夹持组件包括夹持传动机构和夹持执行机构,其中:所述固定座固定设置在所述置物板的底侧;所述夹持传动机构和所述夹持执行机构均设置在所述固定座上,所述夹持传动机构能带动所述夹持执行机构夹紧或者松开轮椅扶手。
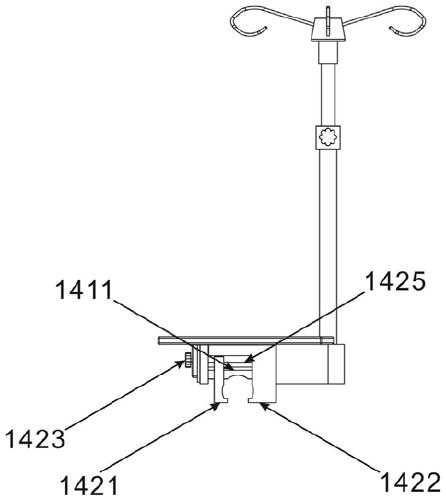
优选地,所述夹持执行机构包括固定夹持件和活动夹持件,其中:所述固定夹持件固定设置在所述固定座上;所述活动夹持件滑动设置在所述固定座上且与所述夹持传动机构传动相连,所述夹持传动机构能带动所述活动夹持件相对于所述固定夹持件相向运动或者相背运动。
优选地,所述活动夹持件上设置有滑槽,所述固定座上设置有导向件,所述导向件穿过所述滑槽,所述活动夹持件通过所述滑槽与所述导向件滑动配合。
优选地,所述夹持传动机构包括传动丝杆和调节旋钮,所述活动夹持件上设置有传动螺母,其中:所述传动丝杆可转动设置在所述固定座上;所述传动丝杆穿过所述传动螺母且与所述传动螺母螺纹配合;所述传动丝杆与所述调节旋钮传动相连,转动所述调节旋钮能带动所述传动丝杆转动,以使所述活动夹持件相对于所述固定夹持件相向运动或者相背运动。
优选地,所述传动丝杆的数量设置为两个,所述活动夹持件上设置有两个传动螺母,所述夹持传动机构包括齿轮传动装置,其中:所述齿轮传动装置设置在所述固定座上;所述齿轮传动装置的输入端与所述调节旋钮相连;所述齿轮传动装置设置有两个输出端,两个所述输出端分别与对应所述传动丝杆相连。
本实用新型提供的一种多功能移动输液架至少具有以下有益效果:
所述多功能移动输液架包括移动底座、上支撑装置和下支撑装置,所述移动底座用于所述上支撑装置和所述下支撑装置的安装和支撑;所述下支撑装置设置在所述移动底座上,能够移动,使用方便;所述上支撑装置可拆卸设置在所述下支撑装置上,所述上支撑装置包括上支撑杆、置物板和固定装置,所述上支撑杆的顶端设置有挂钩部,所述上支撑杆形成输液杆,所述挂钩部用于悬挂吊瓶;所述置物板设置在所述支撑杆上,所述置物板能够用于放置输液泵等仪器;所述固定装置设置在所述上支撑杆上且位于所述置物板的下侧,通过固定装置以及可拆卸连接的上支撑装置和下支撑装置相互配合,能够根据患者的需要,将上支撑装置安装在所需的位置,如轮椅、病床上等,使用方便。
【附图】:































