授权专利
【实用新型】一种多功能的病房用盆架
专利号:ZL202021471371.5
申请日:20200723
发明人:韩维
法律状态:授权
公开号:CN212788325U
授权公告日:2021-03-26
交易方式:转让; 许可
【摘要】:
本实用新型涉及病人护理技术领域,公开了一种多功能的病房用盆架,为了提高病房内患者用生活用具的灵活摆放性,所述归类板架的前侧位于一端位置处设置有标识牌,所述归类板架的内侧固定有放置板,所述进气扇的进气端连接有消毒管道,所述归类板架的一侧位于底端位置处固定有消毒箱,所述废气管道的底端连接有净化筒。本实用新型通过归类板架内放置板对盆具、尿壶等生活用具的分类摆放,能够便于家属、患者的分类使用,且在分类摆放过程中,通过进气扇将雾化的消毒液吹向盆具、尿壶等生活用具,能够对生活用具进行消毒处理,同时通过吸气扇的吸气,在净化筒的净化过滤下,能够将盆具、尿壶等生活用具产生的异味吸附过滤。
【技术领域】:
本实用新型涉及病人护理技术领域,具体是一种多功能的病房用盆架。
【实用新型内容】:
本实用新型的目的在于提供一种多功能的病房用盆架,以解决上述背景技术中提出的问题。
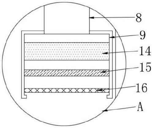
为实现上述目的,本实用新型提供如下技术方案:一种多功能的病房用盆架,包括归类板架,所述归类板架的下方位于四个边角位置处均设置有万向轮,且归类板架的前侧位于一端位置处设置有标识牌,所述归类板架的内侧固定有放置板,所述放置板的一侧设置有进气扇,且放置板的另一侧设置有吸气扇,所述进气扇的进气端连接有消毒管道,所述归类板架的一侧位于底端位置处固定有消毒箱,所述消毒箱的内侧设置有消毒腔室,所述消毒腔室的一侧位于顶端位置处连接有进液管,且消毒腔室通过雾化器与消毒管道连接,所述吸气扇的排气端连接有废气管道,所述废气管道的底端连接有净化筒,所述净化筒的内侧从上至下依次卡合有干燥网层、吸附网层、防护网层。
作为本实用新型再进一步的方案:所述标识牌的数量不少于四组,且标识牌的标识从下至上依次为尿壶、便盆、脸盆、毛巾。
作为本实用新型再进一步的方案:所述放置板的数量与标识牌的数量相同,且放置板与标识牌相互一一对应。
作为本实用新型再进一步的方案:所述进气扇与吸气扇的结构相同,且进气扇与吸气扇处于同一水平面上。
作为本实用新型再进一步的方案:所述雾化器的进液端连接有抽液管,且雾化器的出液端连接有排液管,所述雾化器通过抽液管与消毒腔室连接,且雾化器通过排液管与消毒管道连接。
作为本实用新型再进一步的方案:所述干燥网层采用聚氨酯泡沫材质构件,所述吸附网层采用活性炭网材质构件。
与现有技术相比,本实用新型的有益效果是:
本实用新型通过归类板架内放置板对盆具、尿壶等生活用具的分类摆放,取代了传统家属散乱摆放的形式,不仅降低了盆具、尿壶等生活用具的占用空间,同时能够便于家属、患者的分类使用,且在分类摆放过程中,通过进气扇将雾化的消毒液吹向盆具、尿壶等生活用具,能够对生活用具进行消毒处理,避免滋生细菌,同时通过吸气扇的吸气,在净化筒的净化过滤下,能够将盆具、尿壶等生活用具产生的异味吸附过滤,确保病房内空气的清新性。
【附图】:




























