授权专利
【实用新型】一种插管固定装置
专利号:ZL202021739304.7
申请日:20200819
发明人:孙杰
法律状态:授权
公开号:CN213252278U
授权公告日:2021-05-25
交易方式:转让; 许可
【摘要】:
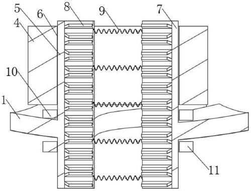
本实用新型公开了一种插管固定装置,涉及到插管固定装置领域,包括固定板,固定板呈弧形的板状结构,固定板的两端均设有绑槽,绑槽上绑有绑带,固定板通过绑带可绑在头部,固定板位于口部位置,固定板的内部设有夹持槽,夹持槽的一端设有穿过固定板侧面的开口,夹持槽的中部上下内壁上均设置有卡槽,上方的卡槽上活动贴合有第二夹持板,下方的卡槽上活动贴合有第一夹持板,第一夹持板的侧面和第二夹持板的侧面之间通过多组弹簧进行拉持,通过第一夹持板和第二夹持板可将插管固定,使用方便。
【技术领域】:
本实用新型涉及插管固定装置领域,特别涉及一种插管固定装置。
【实用新型内容】:
本实用新型提供如下技术方案:一种插管固定装置,包括固定板,所述固定板呈弧形的板状结构,固定板的两端均设有绑槽,绑槽上绑有绑带,所述固定板的内部设有夹持槽,夹持槽的一端设有穿过固定板侧面的开口,所述夹持槽的中部上下内壁上均设置有卡槽,上方的卡槽上活动贴合有第二夹持板,下方的卡槽上活动贴合有第一夹持板,所述第一夹持板的侧面和第二夹持板的侧面之间通过多组弹簧进行拉持,所述弹簧的两端分别固定在第一夹持板的侧面和第二夹持板的侧面。
优选的,所述夹持槽呈凹字形槽体结构,夹持槽闭口端为可弹性变形的固定板。
优选的,所述第一夹持板和第二夹持板均呈弧形板状结构,第一夹持板和第二夹持板之间组成圆管道结构。
优选的,所述第二夹持板的外圈处和第一夹持板的外圈处均固定焊接有第一挡块、第二挡块,所述第一挡块、第二挡块分别活动贴合在固定板的两侧。
优选的,所述第一夹持板的一端外部活动套设有牙垫。
优选的,所述第一夹持板和第二夹持板的内壁上均固定设置有防滑组件,所述防滑组件包括相邻设置的多组倾斜的橡胶防滑条,且相邻的橡胶防滑条之间倾斜方向相反。
本实用新型的技术效果和优点:
1、本实用新型的一种插管固定装置,包括固定板,固定板呈弧形的板状结构,固定板的两端均设有绑槽,绑槽上绑有绑带,固定板通过绑带可绑在头部,固定板位于口部位置,固定板的内部设有夹持槽,夹持槽的一端设有穿过固定板侧面的开口,夹持槽的中部上下内壁上均设置有卡槽,上方的卡槽上活动贴合有第二夹持板,下方的卡槽上活动贴合有第一夹持板,第一夹持板的侧面和第二夹持板的侧面之间通过多组弹簧进行拉持,通过第一夹持板和第二夹持板可将插管固定,使用方便;
2、本实用新型的一种插管固定装置,夹持槽上方的固定板可弹性变形,使得夹持槽可被打开,方便第一夹持板和第二夹持板的更换和清洗,第一夹持板和第二夹持板之间通过弹簧进行拉持,具有弹性夹持和一定伸缩适应的能力,实用性强。
【附图】:





























