授权专利
【实用新型】一种膀胱冲洗注射装置
专利号:ZL202021900930.X
申请日:20200903
发明人:张丹
法律状态:授权
公开号:CN213251911U
授权公告日:2021-05-25
交易方式:转让; 许可
【摘要】:
本实用新型涉及医疗器械技术领域,具体是一种膀胱冲洗注射装置,包括注射筒,注射筒的内部设有注射塞,注射塞的一侧固定设有推杆,所述注射筒的一侧设有进液口,进液口上设有第一控制阀,注射筒的一端设有进液管,进液管远离所述注射筒的一端设有三通阀,三通阀的另两端分别与导尿管和回流管连接,进液管和所述回流管上分别设有第一单向阀和第二单向阀,回流管远离所述三通阀的一端与收集瓶相连通。本实用新型结构简单,疏通装置能够实现回流管的疏通,方便工作人员定期的对于回流管进行疏通,增加回流管的通畅性,使冲洗液回流不受影响,大大的增加了患者的舒适度,避免患者的二次痛苦。
【技术领域】:
本实用新型涉及医疗器械技术领域,具体是一种膀胱冲洗注射装置。
【实用新型内容】:
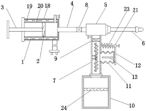
本实用新型提供如下技术方案:一种膀胱冲洗注射装置,包括注射筒,所述注射筒的内部设有注射塞,所述注射塞的一侧固定设有推杆,所述注射筒的一侧设有进液口,所述进液口上设有第一控制阀,所述注射筒的一端设有进液管,所述进液管远离所述注射筒的一端设有三通阀,所述三通阀的另两端分别与导尿管和回流管连接,所述进液管和所述回流管上分别设有第一单向阀和第二单向阀,所述回流管远离所述三通阀的一端与收集瓶相连通,所述回流管的内部设有疏通装置,所述回流管上设有第二控制阀,所述注射筒的外壁套设有加热装置;
所述疏通装置包括与所述回流管一侧相连通的波纹伸缩胶管,所述波纹伸缩胶管的另一端固定设有推板,所述推板的一侧设有限位复弹装置,所述波纹伸缩胶管的内部固定设有齿条板,所述齿条板的一端且位于所述回流管的内部设有齿轮,所述齿轮的中间贯穿设有转杆,所述齿轮的两侧且位于所述转杆上均套设有轴承套,所述轴承套远离所述齿轮的一侧且位于所述转杆上固定设有输送螺杆,所述轴承套的一侧均通过固定杆与所述回流管的内壁连接,所述齿条板与所述齿轮之间相啮合。
作为本实用新型更进一步的方案:所述加热装置包括套设于所述注射筒外部的加热外壳,所述加热外壳与所述注射筒之间设有空腔,所述空腔的内部设有加热液,所述加热外壳的内壁固定设有加热块,所述注射筒的外部一侧固定设有温度传感器,所述温度传感器与加热外壳外侧固定的控制器电性连接。
作为本实用新型更进一步的方案:所述限位复弹装置包括固定设于所述推板边缘一侧的套筒,所述套筒套设于限位杆上,所述限位杆的一端与所述回流管的外壁固定连接,所述套筒与所述回流管之间且位于所述限位杆上套设有复位弹簧。
作为本实用新型更进一步的方案:所述限位杆远离所述回流管的一端固定设有限位挡块。
作为本实用新型更进一步的方案:所述收集瓶的内部固定设有过滤网。
作为本实用新型更进一步的方案:所述导尿管的一端设有外螺纹,所述三通阀的一端设有螺纹孔,所述外螺纹与所述螺纹孔之间相匹配。
作为本实用新型更进一步的方案:所述收集瓶的顶部一端固定设有管接件,所述回流管与所述管接件之间螺纹连接。
与现有技术相比,本实用新型的有益效果是:本实用新型结构简单,能够通过疏通装置实现回流管的疏通,方便工作人员定期的对于回流管进行疏通,增加回流管的通畅性,使冲洗液回流不受影响,大大的增加了患者的舒适度,避免患者的二次痛苦,同时加热装置能够对注射筒中的冲洗液进行加热,增加患者的舒适度。
【附图】:




























