授权专利
【实用新型】乳腺MRI线圈检查专用气囊托
专利号:ZL202021150813.6
申请日:20200619
法律状态:授权
公开号:CN212623033U
授权公告日:2021-02-26
交易方式:转让; 许可
【摘要】:
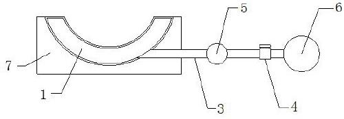
本实用新型提供了乳腺MRI线圈检查专用气囊托,包括第一气囊、放置座、第二气囊、充气管和调节按钮,第一气囊内部充气后鼓起,并用于与患者乳腺相贴合,放置座上开设有一个开口向上的乳腺槽,且乳腺槽用于放置第一气囊,第二气囊用于为第一气囊充气,充气管连接第一气囊和第二气囊,调节按钮设置在充气管上,且调节按钮用于打开或关闭充气管,将本设备放置于乳腺线圈孔洞区,按下调节按钮,利用第二气囊为第一气囊充气,使第一气囊的表面与乳腺相贴合,并对受检者进行乳腺MRI检测,本实用新型主要用于乳腺磁共振检查过程中,与乳腺MRI检查线圈配合使用,从而使受检乳腺在检查过程中保持自然悬垂又相对稳定的,从而提高图像质量,提高检查准确性。
【技术领域】:
本实用新型涉及乳腺MRI检查辅助设备领域,尤其涉及乳腺MRI线圈检查专用气囊托。
【实用新型内容】:
本实用新型提供了乳腺MRI线圈检查专用气囊托,包括第一气囊、放置座、第二气囊、充气管和调节按钮,所述第一气囊内部充气后鼓起,并用于与患者乳腺相贴合,所述放置座上开设有一个开口向上的乳腺槽,且乳腺槽用于放置所述第一气囊,所述第二气囊用于为所述第一气囊充气,所述充气管连接第一气囊和第二气囊,所述调节按钮设置在所述充气管上,且调节按钮用于打开或关闭充气管。
优选的,还包括乳胶垫,所述乳胶垫设置在第一气囊远离放置座的一侧面。
优选的,还包括气压表,所述气压表设置在充气管上,且相较于调节按钮的位置,靠近第一气囊。
优选的,还包括导气管和单向阀,所述第一气囊通过导气管与所述第二气囊连接,所述导气管上设置有单向阀。
优选的,还包括活塞式打气筒,所述活塞式打气筒的出气管与第二气囊连接。
从上面所述可以看出,本实用新型的有益效果:本实用新型主要用于乳腺磁共振检查过程中,与乳腺MRI检查线圈配合使用,从而使受检乳腺在检查过程中保持自然悬垂又相对稳定的,从而提高图像质量,提高检查准确性;本实用新型可根据乳腺大小进行调节,从而是乳腺在检查过程中保持自然状态并相对固定,扩大设备的适用范围,同时可配合一次性检查单,保证检查可行性。
【附图】:



























