授权专利
【实用新型】可固定的气管插管和牙垫的组合件
专利号:ZL202021801921.5
申请日:20200825
发明人:周灵燕
法律状态:授权
公开号:CN213252280U
授权公告日:2021-05-25
交易方式:转让; 许可
【摘要】:
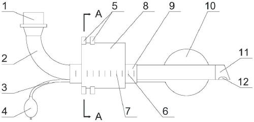
本实用新型公开了一种可固定的气管插管和牙垫的组合件,包括:气管插管和套接气管插管的牙垫。气管插管包括接口、插管、充气管、充气阀、气囊、套管和排气端,套管外壁设有第一刻度线;牙垫包括套体、设置于套体外壁的卡槽和沿套体延伸方向设置于套体外壁的第二刻度线,套体设有第一通管和吸引管。本实用新型通过套管套接插管与充气管并固定,第一通管套接套管,可以将牙垫固定在气管插管外壁,通过第一刻度线和第二刻度线组合使用,能够确定插管齐门齿的位置,安全性更高,便于观察。
【技术领域】:
本实用新型涉及医疗器械领域,更具体地,涉及一种可固定的气管插管和牙垫的组合件。
【实用新型内容】:
本实用新型提供了一种可固定的气管插管和牙垫的组合件,其特征在于,包括:
气管插管和套接所述气管插管的牙垫;
所述气管插管包括接口、插管、充气管、充气阀、气囊、套管和排气端;
所述插管一端连通所述接口,另一端连通所述排气端,所述排气端侧壁设有墨菲孔;
所述充气管一端连通所述充气阀,另一端连通所述气囊,所述气囊套接所述插管靠近所述排气端一端;
所述套管套接所述插管与所述充气管并固定,所述套管外壁设有第一刻度线;
所述牙垫包括套体、设置于所述套体外壁的卡槽和沿套体延伸方向设置于所述套体外壁的第二刻度线,所述卡槽与所述第二刻度线不重合,所述套体设有第一通管和吸引管,所述第一通管套接所述套管。
优选地,所述套管的材料为硅胶、橡胶和聚氯乙烯中的一种。
优选地,所述套体的材料为弹性橡胶和塑料中的一种。
优选地,所述套体还包括第一连接体和第二连接体,所述第一连接体与所述第二连接体可拆卸连接。
优选地,所述第一连接体与所述第二连接体卡扣连接。
优选地,所述套体沿垂直于所述套体外壁方向上的外边缘为椭圆。
优选地,所述卡槽的数量为两个,包括第一卡槽和第二卡槽;
所述第一卡槽与所述第二卡槽对称设置于所述套体外壁。
优选地,沿所述套体的延伸方向,所述卡槽与所述套体不重合。
优选地,所述套管设有镂空部,沿垂直于所述套管侧壁方向上所述镂空部的截面为8字形。
与现有技术相比,本实用新型提供的可固定的气管插管和牙垫的组合件,至少实现了如下的有益效果:
1、本实用新型提供的可固定的气管插管和牙垫的组合件中套管与牙垫的第一通管卡合使得牙垫可以固定于套管外壁,牙垫和套管保护气管插管,安全性更高。
2、本实用新型提供的可固定的气管插管和牙垫的组合件中牙垫还设有吸引管,可通过吸引管将分泌物吸出,更加清洁。
3、本实用新型提供的可固定的气管插管和牙垫的组合件中套管设有的第一刻度线和套体设有的第二刻度线可以组合使用,能够确定插管齐门齿的位置,便于观察插管位置是否发生变化。
当然,实施本实用新型的任一产品必不特定需要同时达到以上所述的所有技术效果。
通过以下参照附图对本实用新型的示例性实施例的详细描述,本实用新型的其它特征及其优点将会变得清楚。
【附图】:



























