授权专利
【实用新型】多功能双层治疗盘
专利号:ZL202021821512.1
申请日:20200827
发明人:王喜凤
法律状态:授权
公开号:CN213250747U
授权公告日:2021-05-25
交易方式:转让; 许可
【摘要】:
本实用新型提供了一种多功能双层治疗盘,涉及医疗器械技术领域,该多功能双层治疗盘,包括:上层功能区,上层功能区包括清洁区和相对污染区,清洁区和相对污染区之间设置向上凸起的隔层,清洁区用于放置消毒物品,相对污染区用于放置使用过的消毒物品;下层抽屉区,下层抽屉区放置于上层功能区的下方,且与上层功能区滑动连接。本实用新型克服了现有技术中的治疗盘各功能区区分不明显,在使用过程中,产生的医疗废物无法分类放置,而且新放入托盘的污染物品容易对盘内清洁的物品造成污染的缺陷,实现分类放置,消除安全隐患。
【技术领域】:
本实用新型涉及医疗器械技术领域,尤其是涉及一种多功能双层治疗盘。
【实用新型内容】:
本实用新型的目的在于提供了一种多功能双层治疗盘,以解决现有技术中的治疗盘各功能区区分不明显,在使用过程中,产生的医疗废物无法分类放置,而且新放入托盘的污染物品容易对盘内清洁的物品造成污染的技术问题。
根据本实用新型的一个方面,本实用新型一实施例提供了一种多功能双层治疗盘,包括:
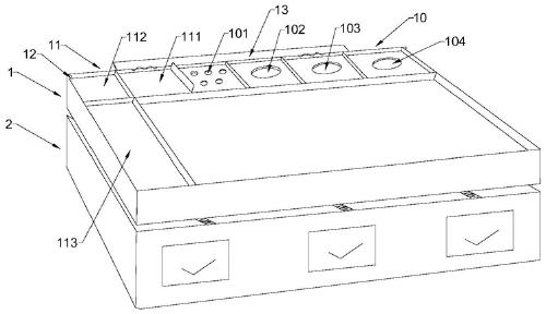
上层功能区,所述上层功能区包括清洁区和相对污染区,所述清洁区和所述相对污染区之间设置向上凸起的隔层,所述清洁区用于放置消毒物品,所述相对污染区用于放置使用过的消毒物品;
下层抽屉区,所述下层抽屉区放置于所述上层功能区的下方,且与所述上层功能区滑动连接。
优选地,所述清洁区包括采血管固定架孔,所述采血管固定架孔紧邻所述相对污染区,且通过向上凸起的隔层与所述相对污染区隔开,所述采血管固定架孔包括至少一个,等间距或者不等间距分布。
优选地,所述采血管固定架孔靠近所述上层功能区的边缘布置。
优选地,所述清洁区还包括止血带放置槽、洗手液放置槽和消毒液放置槽,所述止血带放置槽、所述洗手液放置槽和所述消毒液放置槽均沿着所述上层功能区的长度方向的边缘布置。
优选地,所述相对污染区包括用后消毒品放置槽,所述用后消毒品放置槽用于放置使用后的棉签,所述用后消毒品放置槽沿着所述上层功能区的长度方向的边缘布置。
优选地,所述相对污染区还包括用后锐器放置槽,所述用后锐器放置槽用于放置使用后的锐器,所述用后锐器放置槽沿着所述上层功能区的长度方向的边缘布置。
优选地,所述相对污染区还包括外包装放置槽,所述外包装放置槽用于放置使用后的一次性外包装袋,所述外包装放置槽沿着所述上层功能区的宽度方向的边缘布置。
优选地,所述采血管固定架孔、所述止血带放置槽、所述洗手液放置槽、所述消毒液放置槽、所述用后消毒品放置槽、所述用后锐器放置槽以及所述外包装放置槽的放置位置均可以相互调换。
优选地,所述上层功能区宽度方向的边缘处设置卡槽,用于拆卸针头。
优选地,所述上层功能区的边缘旋转连接夹板。
本实用新型提供的多功能双层治疗盘,具有以下技术效果:
该种多功能双层治疗盘,主要由上层功能区和下层功能区组成,而上层功能区包括清洁区和相对污染区,清洁区和相对污染区之间设置向上凸起的隔层,清洁区用于放置消毒物品,相对污染区用于放置使用过的消毒物品,即通过分区设置,克服了现有技术中的治疗盘各功能区区分不明显,在使用过程中,产生的医疗废物无法分类放置,而且新放入托盘的污染物品容易对盘内清洁的物品造成污染的缺陷,实现分类放置,消除安全隐患。
【附图】:


























