授权专利
【实用新型】多功能枕
专利号:ZL202022633376.X
申请日:20201113
发明人:郭强
法律状态:授权
公开号:CN213464618U
授权公告日:2021-06-18
交易方式:转让; 许可
【摘要】:
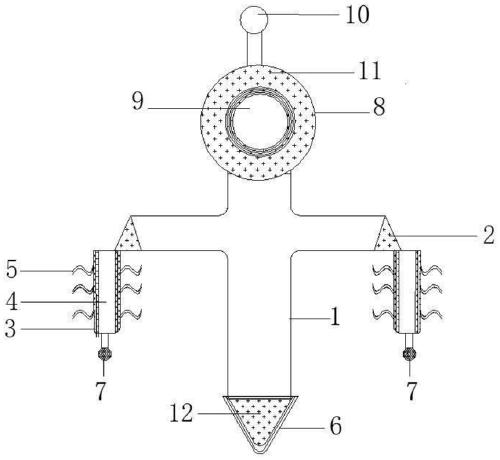
本实用新型公开了多功能枕,枕体的左右两端分别设置有用于放置腋下的第一夹持件,第一夹持件为上窄下宽型,第一夹持件的底端设置有用于放置上肢的支撑部,支撑部上设置有第一凹槽部,支撑部的左右两侧分别设置有相互配合的固定件,枕体的底部设置有用于放置双腿的第二夹持件,第二夹持件为上宽下窄型,枕体、第一夹持件、支撑部和第二夹持件内分别填充有第一填充物,第一填充物为聚醚型聚氨酯泡沫海绵或乳胶材料。通过第一夹持件和第二夹持件能够确保腋下、大腿和腋窝等皮肤褶缝处有效通风,进而避免被湿热刺激,相贴的皮肤面也不容易发生相互摩擦现象;通过袋体内的球状物使手臂的肌肉得到有效锻炼。
【技术领域】:
本实用新型涉及医疗器械技术领域,更具体地,涉及一种多功能枕。
【实用新型内容】:
一种多功能枕,包括枕体,其特征在于,所述枕体的左右两端分别设置有用于放置腋下的第一夹持件,所述第一夹持件为上窄下宽型,所述第一夹持件的底端设置有用于放置上肢的支撑部,所述支撑部上设置有第一凹槽部,所述支撑部的左右两侧分别设置有相互配合的固定件,所述枕体的底部设置有用于放置双腿的第二夹持件,所述第二夹持件为上宽下窄型,所述枕体、所述第一夹持件、所述支撑部和所述第二夹持件内分别填充有第一填充物,所述第一填充物为聚醚型聚氨酯泡沫海绵或乳胶材料。
优选的,所述支撑部的底端设置有用于放置球状物的袋体。
优选的,所述支撑部的内侧与所述第一凹槽部的外侧之间为渐变型凹槽。
优选的,所述枕体的顶端设置有头枕,所述头枕的中部设置有第二凹槽部。
优选的,所述头枕的内侧和所述第二凹槽部的外侧之间为渐变型凹槽。
优选的,所述头枕内填充有第二填充物,所述第二填充物为聚醚型聚氨酯泡沫海绵或乳胶材料。
优选的,所述头枕上设置有挂孔。
与现有技术相比,本实用新型提供的多功能枕,至少实现了如下的有益效果:
通过第一夹持件和第二夹持件能够确保腋下、大腿和腋窝等皮肤褶缝处有效通风,进而避免被湿热刺激,相贴的皮肤面也不容易发生相互摩擦现象;可选的,通过袋体内的球状物使手臂的肌肉得到有效锻炼;可选的,将枕体、第一夹持件、支撑部和第二夹持件内分别填充有聚醚型聚氨酯泡沫海绵或乳胶材料有效避免褥疮发生的风险。
当然,实施本实用新型的任一产品必不特定需要同时达到以上所述的所有技术效果。
【附图】:


























