授权专利
【实用新型】分类放置采血管的装置
专利号:ZL202023088840.8
申请日:20201221
发明人:于娟
法律状态:授权
公开号:CN214020961U
授权公告日:2021-08-24
交易方式:转让; 许可
【摘要】:
本实用新型公开了分类放置采血管的装置,支架本体具有至少一个支撑板和底板,支撑板沿第二方向排列,支撑板上设置有至少一个用于穿过采血管的管孔,管孔沿第一方向以及第二方向排布,底板上沿第一方向依次设置有第一感应区域、第二感应区域和第三感应区域,第三感应区域的高度小于第二感应区域的高度,且第二感应区域的高度小于第一感应区域的高度;第一感应区域、第二感应区域和第三感应区域远离支撑板一侧分别设置有LED感应灯;红色LED感应灯对应第一感应区域,蓝色LED感应灯对应第二感应区域,绿色LED感应灯对应第三感应区域。本实用新型将采血管分类放置于不同区域,从而能够区分需要查验的采血管的轻重缓急,进而提升护理人员的工作效率。
【技术领域】:
本实用新型涉及医疗器械技术领域,更具体地,涉及一种分类放置采血管的装置。
【实用新型内容】:
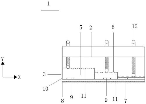
一种分类放置采血管的装置,包括用于放置采血管的支架本体,所述支架本体具有至少一个支撑板和底板,所述支撑板沿第二方向排列,所述支撑板上设置有至少一个用于穿过采血管的管孔,所述管孔沿第一方向以及第二方向排布,所述底板上沿第一方向依次设置有第一感应区域、第二感应区域和第三感应区域,所述第三感应区域的高度小于所述第二感应区域的高度,且所述第二感应区域的高度小于所述第一感应区域的高度;
所述第一感应区域、所述第二感应区域和所述第三感应区域远离所述支撑板一侧分别设置有LED感应灯,所述LED感应灯与充电接口电连接;
所述LED感应灯为红色LED感应灯、蓝色LED感应灯和绿色LED感应灯,其中,所述红色LED感应灯对应所述第一感应区域,所述蓝色LED感应灯对应所述第二感应区域,所述绿色LED感应灯对应所述第三感应区域。
优选地,所述第一感应区域、所述第二感应区域和所述第三感应区域靠近所述支撑板一侧设置有与所述管孔相对应的管槽。
优选地,所述第一感应区域的高度与所述支架本体1的高度之比小于等于2/3。
优选地,所述底板远离LED感应灯一侧设置有保护层。
与现有技术相比,本实用新型提供的分类放置采血管的装置,至少实现了如下的有益效果:
该装置通过对第一感应区域、第二感应区域和第三感应区域之间高度的差异性进行设计,将采血管分类放置于不同区域,从而能够区分需要查验的采血管的轻重缓急,进而减轻护理人员的工作量、提升其工作效率;通过不同颜色的LED感应灯更有效地确保对轻重缓急的采血管进行分类,能够有效保证查验血的准确性和及时性,避免采血管轻重缓急的采血管混放,从而防止在送采血管查验时需要再次查对采血管中的血是否为急需要查验的,很大程度的降低医护人员的工作量,更有效的提升医护人员的工作效率,同时也可以避免医疗事故发生。
【附图】:



























