授权专利
【实用新型】肛周熏洗仪
专利号:ZL202120076683.4
申请日:20210112
发明人:詹翠鑫
法律状态:授权
公开号:CN214968863U
授权公告日:2021-12-03
交易方式:转让; 许可
【摘要】:
本实用新型提供的一种肛周熏洗仪,涉及医疗设备技术领域,以在一定程度上解决优化肛周熏洗仪的结构,提高患者在治疗过程中的私密度。本实用新型提供的肛周熏洗仪, 包括熏洗仪主体及遮挡组件;熏洗仪主体包括座椅和扶手,座椅内形成有治疗腔,扶手沿第一方向设置;遮挡组件包括转板和遮挡帘,转板的一端与扶手的前端转动连接,遮挡帘设置于转板的另一端,且沿转板的长度方向延伸;遮挡帘的长度大于转板与座椅之间的间距。
【技术领域】:
本实用新型涉及医疗设备技术领域,尤其是涉及一种肛周熏洗仪。
【实用新型内容】:
本实用新型的目的在于提供一种肛周熏洗仪,以在一定程度上优化肛周熏洗仪的结构,提高患者在治疗过程中的私密度。
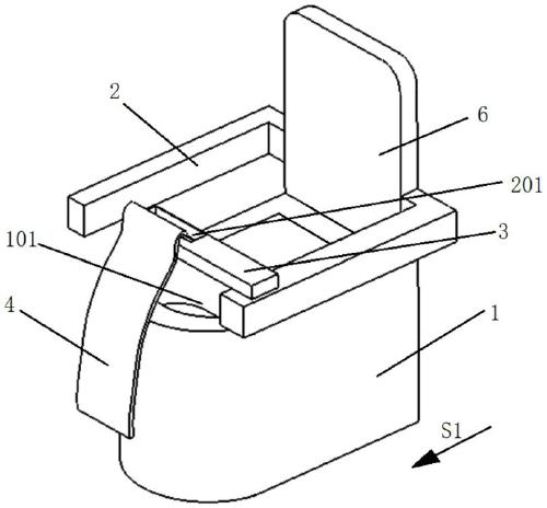
本实用新型提供的一种肛周熏洗仪,包括熏洗仪主体及遮挡组件;所述熏洗仪主体包括座椅和扶手,所述座椅内形成有治疗腔,所述扶手沿第一方向设置;所述遮挡组件包括转板和遮挡帘,所述转板的一端与所述扶手的前端转动连接,所述遮挡帘设置于所述转板的另一端,且沿所述转板的长度方向延伸;所述遮挡帘的长度大于所述转板与所述座椅之间的间距。
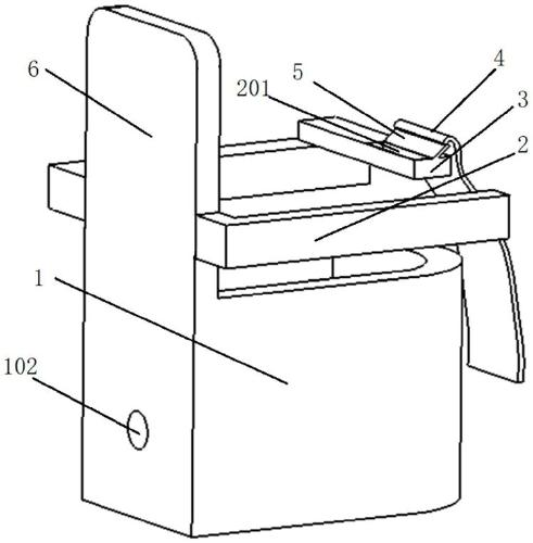
其中,所述转板远离与所述扶手转动连接的一端形成有容纳槽,所述容纳槽沿所述转板的长度方向延伸,且所述容纳槽的长度大于所述遮挡帘的宽度,以使所述遮挡帘能够收纳于所述容纳槽。
具体的,所述转板上对应所述容纳槽的位置设有翻盖,所述翻盖能够相对所述转板转动,以盖设或开启所述容纳槽;所述遮挡帘与所述翻盖的边缘相连接,且所述遮挡帘能够翻过所述翻盖的边缘向接近座椅的方向落下。
进一步的,所述遮挡帘与所述翻盖的边缘为可拆卸连接。
更进一步地,所述转板上对应所述翻盖的位置设有限位杆,所述限位杆能够支撑于所述翻盖与所述转板之间,以限定所述翻盖的翻转角度。
其中,本实用新型提供的肛周熏洗仪,还包括靠背,所述靠背与所述座椅相连接。
具体的,所述扶手的数量为两个,且分别设置于患者处于治疗状态下的所述靠背的左右两侧所述遮挡组件设置于任一所述扶手上。
其中,本实用新型提供的肛周熏洗仪,还包括冲水管、雾化口及吹风口;所述冲水管设置于所述治疗腔内,且位于患者在治疗状态下的正后方;所述雾化口和所述吹风口相对设置于所述治疗腔内的两侧。
具体的,本实用新型提供的肛周熏洗仪,还包括储水箱、储药箱及控制机构;所述储水箱与所述储药箱均设置于所述座椅内,所述储水箱与所述冲水管相连通,所述储药箱与所述雾化口相连通;所述储水箱内设有水泵及加热器,所述储药箱内设有雾化器,所述控制机构设置于右侧的所述扶手内,且与所述水泵、所述加热器以及所述雾化器电连接。
进一步的,所述座椅的底部开设有排污口,所述排污口与所述治疗腔相连通。
相对于现有技术,本实用新型提供的肛周熏洗仪具有以下优势:
本实用新型提供的肛周熏洗仪,包括熏洗仪主体及遮挡组件;熏洗仪主体包括座椅和扶手,座椅内形成有治疗腔,扶手沿第一方向设置;遮挡组件包括转板和遮挡帘,转板的一端与扶手的前端转动连接,遮挡帘设置于转板的另一端,且沿转板的长度方向延伸;遮挡帘的长度大于转板与座椅之间的间距。
由此分析可知,通过在扶手上设置的遮挡组件,且遮挡组件中的转板与扶手的前端转动连接,当患者坐在座椅上后,转动转板,使转板横置在患者腹部前端。由于本申请中转板上设有遮挡帘,且遮挡帘的长度大于转板和座椅之间的距离,因此,遮挡帘在患者治疗过程中,能够对患者的私处进行遮挡,从而能够在一定程度上提高患者在治疗过程中的私密程度。
【附图】:



























