授权专利
【实用新型】护理围挡
专利号:ZL202022823239.2
申请日:20201130
发明人:郑秋月
法律状态:授权
公开号:CN213883938U
授权公告日:2021-08-06
交易方式:转让; 许可
【摘要】:
本申请公开了一种护理围挡,护理围挡与护理床转动连接,护理床包括床头,床头包括沿垂直地面方向延伸的第一侧壁和沿平行地面方向延伸的第二侧壁;护理围挡包括沿第一方向延伸的两个第一横杆和沿第二方向延伸的第二横杆,第一横杆的第一端与第一侧壁转动连接,第一横杆的第二端与第二横杆连接,相邻第一横杆与第二横杆顺次连接形成U型第一容纳空间,U型第一容纳空间用于放置床头;第一横杆还包括多个沿第三方向延伸的第一防护柱;还包括缓冲部件,缓冲部件套接在第一横杆和第二横杆的外壁。本实用新型公开的护理围挡与护理床转动连接,使用护理围挡时保护患者,在不使用护理围挡时可以收纳至床头,为患者提供方便。
【技术领域】:
本实用新型属于医疗用品技术领域,本实用新型为护理围挡。
【实用新型内容】:
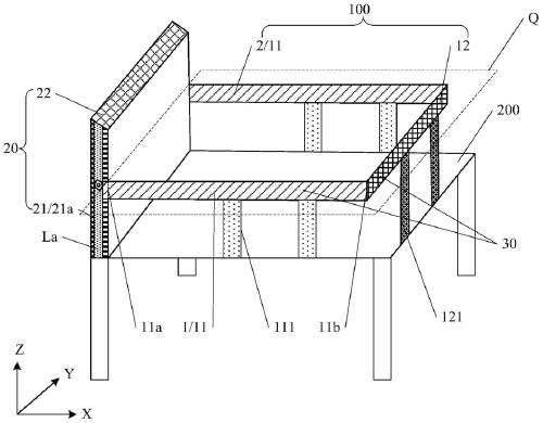
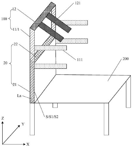
一种护理围挡,所述护理围挡与护理床转动连接,所述护理床包括床头,所述床头包括沿垂直地面方向延伸的第一侧壁和沿平行地面方向延伸的第二侧壁,相邻所述第一侧壁和所述第二侧壁顺次连接;
所述护理围挡包括沿第一方向延伸的两个第一横杆和沿第二方向延伸的第二横杆,所述第一横杆的第一端与所述第一侧壁转动连接,所述第一横杆的第二端与所述第二横杆连接,相邻所述第一横杆与所述第二横杆顺次连接形成U型第一容纳空间,所述U型第一容纳空间用于放置床头;
所述第一横杆还包括多个沿第三方向延伸的第一防护柱,所述第一方向与所述第二方向相交,所述第三方向与所述第一方向相交,且所述第三方向与所述第二方向相交;
还包括缓冲部件,所述缓冲部件套接在所述第一横杆和所述第二横杆的外壁。
优选的,所述第一侧壁包括相对设置的第一子侧壁和第二子侧壁;
所述第一子侧壁远离所述第二子侧壁的一侧包括第一滑槽,所述第二子侧壁远离所述第一子侧壁的一侧包括第二滑槽;
所述第一横杆包括相对设置的第一子横杆和第二子横杆,所述第一横杆的第一端与所述第一滑槽滑动连接,所述第二横杆的第一端与所述第二滑槽滑动连接。
优选的,所述第一侧壁包括第一螺栓孔,所述第一横杆的第一端设有第二螺栓孔,
通过螺栓依次贯穿所述第一螺栓孔和所述第二螺栓孔,使得所述第一侧壁和所述第一横杆转动连接。
优选的,所述U型第一容纳空间与所述床头卡合。
优选的,所述第一防护柱为伸缩防护柱。
优选的,所述第二横杆包括多个沿所述第三方向延伸的第二防护柱。
优选的,所述第二防护柱为伸缩防护柱。
优选的,所述缓冲部件为橡胶或者记忆棉。
优选的,所述第一横杆和所述第二横杆固定连接或者可拆卸连接。
与现有实用新型相比,本实用新型提供的护理围挡,有如下有益效果:
本实用新型公开的护理围挡可以在使用时,使得护理围挡与地面平行,使得护理围挡与护理床形成保护空间,通过利用护理围挡的第一横杆和第二横杆控制患者的四肢等防止患者不受控而伤害到自己;同时本申请的护理围挡还包括缓冲部件,缓冲部件套接在第一横杆和第二横杆外壁,进一步套接在防护柱的外壁,可以避免患者身体与护理围挡摩擦而受伤;当无需使用护理围挡时,可以将护理围挡立起来,使其与地面垂直,进一步第一横杆和第二横杆形成的U型第一容纳空间可以容纳床头,这样直接U型倒过来就插入床头上,易于收纳,为患者提供方便。
【附图】:





























