授权专利
【实用新型】具有图像显示功能的口腔咬合恢复训练器
专利号:ZL202120232121.4
申请日:20210127
发明人:原静; 高玉艳
法律状态:授权
公开号:CN214232581U
授权公告日:2021-09-21
交易方式:转让; 许可
【摘要】:
本实用新型实施例涉及口腔训练图像通信技术,主要用于口腔训练的近距离或远距离的图像传输,具体涉及一种具有图像显示功能的口腔咬合恢复训练器,包括:置于口腔内的口腔支撑体,通过支撑的方式将上下牙齿分开,通过调节指定方向上的尺寸控制上下牙齿开合的距离;固定在口腔支撑体上的摄像头,拍摄口腔内图像,并向控制板发送图像数据;固定在口腔支撑体上的LED照明组件,为摄像头拍摄提供光源;获取咬合力数据的压力传感器,并向控制板发送咬合力数据;控制板,接收图像数据和咬合力数据并存入存储器,根据第一触发信号将图像数据传送给显示器,和/或,根据第二触发信号将咬合力数据传送给显示器,能够在口腔训练过程中实时观测口腔内肌肉运动情况。
【技术领域】:
本实用新型实施例涉及口腔训练图像通信技术领域,特别涉及一种具有图像显示功能的口腔咬合恢复训练器。
【实用新型内容】:
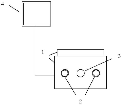
本实用新型的实施方式提供了一种具有图像显示功能的口腔咬合恢复训练器,使得在口腔训练过程中实时观测口腔内肌肉运动情况,并有效记录训练数据,很好的帮助病患更快的恢复和制定准确的治疗方案。该具有图像显示功能的口腔咬合恢复训练器包括:口腔支撑体、摄像头、LED照明组件、压力传感器、显示器、存储器和控制板,所述口腔支撑体、所述摄像头、所述LED照明组件、所述压力传感器、所述显示器、所述存储器分别与所述控制板通讯连接或者电连接;
所述口腔支撑体,置于口腔内,通过支撑的方式将上下牙齿分开,指定方向上的尺寸可调,通过调节指定方向上的尺寸控制上下牙齿开合的距离;
所述摄像头,固定在所述口腔支撑体上,用于拍摄口腔内图像,并向所述控制板发送所述图像数据;
所述LED照明组件,固定在所述口腔支撑体上,用于为所述摄像头拍摄提供光源;
所述压力传感器,固定在所述口腔支撑体内部,用于获取咬合力数据,并向所述控制板发送所述咬合力数据;
所述控制板,接收所述摄像头传送的图像数据,接收所述压力传感器传送的所述咬合力数据,将所述图像数据和所述咬合力数据存入所述存储器,并根据第一触发信号将所述图像数据传送给所述显示器,和/或,根据第二触发信号将所述咬合力数据传送给所述显示器。
进一步可选的,所述口腔支撑体一侧面上设有机械传动按钮,所述口腔支撑体指定方向上的尺寸由所述机械传动按钮的旋转进行调整。
进一步可选的,所述口腔支撑体表面敷有牙胶。
进一步可选的,所述口腔支撑体设有机械传动按钮的侧面上设有刻度盘,所述刻度盘数值用于标识所述口腔支撑体指定方向上的尺寸。
进一步可选的,所述摄像头加持不同倍数摄像头。
进一步可选的,所述口腔支撑体上设有至少两个摄像头,所述两个摄像头分别用于拍摄口腔内部左右两侧图像。
进一步可选的,所述LED照明组件设置在所述两个摄像头之间。
进一步可选的,所述两个摄像头以内凹的方式嵌入在所述口腔支撑体上。
本实用新型实施例提供的一种具有图像显示功能的口腔咬合恢复训练器,在摄像头、控制板、LED灯、压力传感器、存储器的配合下,能够在口腔训练过程中实时观测口腔内肌肉运动情况。
【附图】:


























