授权专利
【实用新型】一种呼吸科护理防护罩
专利号:ZL202021058137.X
申请日:20200610
发明人:李硕
法律状态:授权
公开号:CN213100214U
授权公告日:2021-05-04
交易方式:转让; 许可
【摘要】:
本实用新型公开了一种呼吸科护理防护罩,包括呼吸罩,所述呼吸罩的一端设有连接管,所述连接管的一端连通有加湿室,所述加湿室的顶部设有进气管,所述加湿室的底部设有对空气进行喷雾的加湿装置,此一种呼吸科护理防护罩,改变了传统的防护罩结构,在用来防护的呼吸罩的一端连通有加湿室,加湿装置对进气管进入的空气进行加湿,使空气不会太干燥,防止干燥的空气被佩戴者吸入后引起嗓子干痒情况的出现。
【技术领域】:
本实用新型涉及呼吸科防护罩技术领域,具体为一种呼吸科护理防护罩。
【实用新型内容】:
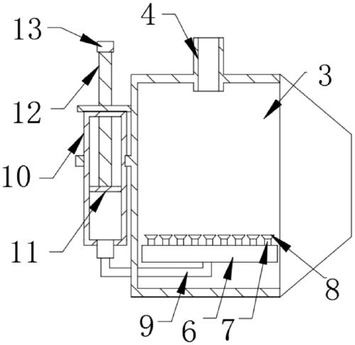
本实用新型提供如下技术方案:一种呼吸科护理防护罩,包括呼吸罩,所述呼吸罩的一端设有连接管,所述连接管的一端连通有加湿室,所述加湿室的顶部设有进气管,所述加湿室的底部设有对空气进行喷雾的加湿装置,从进气管进入的空气进入加湿室中,再经加湿装置加湿后,空气被加湿后再经过连接管送入到佩戴者口鼻处。
优选的,所述加湿装置包括喷水板,所述喷水板设在加湿室的底部,所述喷水板的顶部设有多个喷水管,所述喷水管上均固定有喷头,多个喷头一起对加湿室内部的空气进行喷水加湿,所述喷水板远离喷水管的一端设有出水管,所述出水管远离喷水板的一端穿过加湿室的外壁连通有注射筒,注射筒内部的加湿水注射到出水管中,再经出水管流向喷水管,利用喷洒头对空气进行喷洒。
优选的,所述注射筒的内部滑动连接有活塞板,所述活塞板的一端固定有连杆,所述连杆远离活塞板的一端穿过注射筒端部并固定有压板,按压压板,压板挤压活塞板往出水管方向移动,将注射筒内部的水挤压入出水管中。
优选的,所述加湿室的一端固定有支撑板,所述支撑板上开设有放置注射筒的通孔,注射筒可以经常进行更换。
优选的,所述加湿室和连接管之间螺纹连接,一段时间后可将加湿室取下对其内部进行残余的水分清洗。
与现有技术相比,本实用新型的有益效果是:
本实用新型改变了传统的防护罩结构,在用来防护的呼吸罩的一端连通有加湿室,加湿装置对进气管进入的空气进行加湿,使空气不会太干燥,防止干燥的空气被佩戴者吸入后引起嗓子干痒情况的出现。
【附图】:




























