授权专利
【实用新型】一种临床插管用固定装置
专利号:ZL202022551139.9
申请日:20201106
发明人:王平
法律状态:授权
公开号:CN213666851U
授权公告日:2021-07-13
交易方式:转让; 许可
【摘要】:
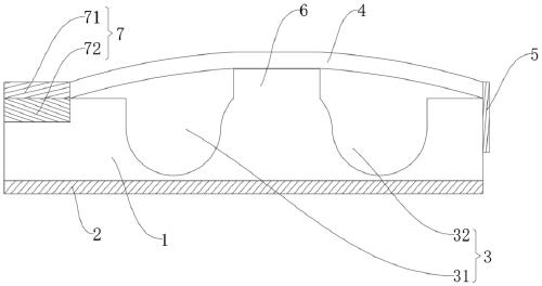
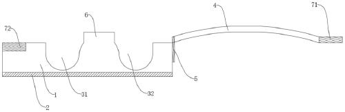
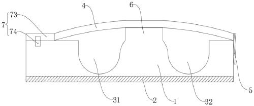
本实用新型涉及一种临床插管用固定装置,包括底座(1)和安装部(3),所述安装部(3)设置于所述底座(1)上,其特征在于:还包括压盖(4)、合页(5)和固定件(7),所述压盖(4)一端通过合页(5)与所述底座(1)连接,所述压盖(4)另一端与所述固定件(7)连接,以实现所述固定件(7)与所述底座(1)连接。本实用新型可以将胃管固定于安装部内,通过增加两者之间的摩擦力,起到固定插管的作用,方便安装和使用。
【技术领域】:
本实用新型涉及医疗器械技术领域,尤其涉及一种临床插管用固定装置。
【实用新型内容】:
本实用新型实施例公开了一种临床插管用固定装置,包括包括底座和安装部,所述安装部设置于所述底座上,还包括压盖、合页和固定件,所述压盖一端通过合页与所述底座连接,所述压盖另一端与所述固定件连接,以实现所述固定件与所述底座连接。
在上述任一方案中优选的是,所述安装部包括第一放置槽和第二放置槽,所述第一放置槽和第二放置槽设置于所述底座上,其中,
所述第一放置槽和第二放置槽的内表面粘结有防滑纹路。
在上述任一方案中优选的是,临床插管用固定装置,还包括凸起,所述凸起设置于所述底座中部,且所述凸起的顶部与所述压盖的下表面相抵。
在上述任一方案中优选的是,临床插管用固定装置,还包括吸附部,所述吸附部设置于所述底座上。
在上述任一方案中优选的是,所述固定件包括第一吸附件和第二吸附件,所述第一吸附件与所述压盖的一端连接,所述第二吸附件设置于所述底座上,以实现所述第二吸附件与所述第一吸附件相吸附。
在上述任一方案中优选的是,所述固定件包括上压板和连接件,所述上压板一端与所述压盖的一端连接,当闭合时,所述上压板盖设于所述底座上,并通过所述连接件连接。
在上述任一方案中优选的是,所述连接件包括插槽和插块,所述插块设置于所述上压板上,所述插槽设置于所述底座上,以实现所述插块插入至所述插槽内。
在上述任一方案中优选的是,所述插块与所述上压板一体成型。
在上述任一方案中优选的是,所述插块与所述上压板一体成型。
在上述任一方案中优选的是,所述吸附部设置有一个或多个,且所述吸附部可设置于所述底座的侧面或底部。
与现有技术相比,本实用新型实施例临床插管用固定装置,通过将压盖一端通过合页与底座连接,压盖另一端与固定件连接,以实现固定件与底座连接,从而可以将胃管固定于安装部内,可以增加摩擦,起到固定插管的作用。
【附图】:





























