授权专利
【实用新型】一种浅静脉剥离离断器组件
专利号:ZL202022414341.7
申请日:20201027
发明人:张杰
法律状态:授权
公开号:CN213552292U
授权公告日:2021-06-29
交易方式:转让; 许可
【摘要】:
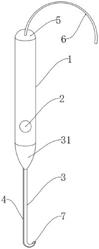
本实用新型涉及一种浅静脉剥离离断器组件,包括手柄(1)、电池(10)和剥脱钩(3),电池(10)设置于手柄(1)内,剥脱钩(3)与电池(10)连接,还包括连接头(31),剥脱钩(3)一端通过连接头(31)与手柄(1)一端连接,剥脱钩(3)另一端具有钩子(7),以实现剥脱钩(3)和钩子(7)之间形成一电凝工作区。本实用新型对大隐静脉浅表分支血管实施保护性电凝闭塞,可最大限度地减少手术创伤、血肿形成概率,手术时间和手术费用,减少神经损伤,因而适合各级医院普及使用。
【技术领域】:
本实用新型涉及医疗器械技术领域,尤其涉及一种浅静脉剥离离断器组件。
【实用新型内容】:
本实用新型提供一种浅静脉剥离离断器组件,对大隐静脉浅表分支血管实施保护性电凝闭塞,可最大限度地减少手术创伤、血肿形成概率,手术时间和手术费用,减少神经损伤,因而适合各级医院普及使用,可以有效解决背景技术中的问题。
为了解决上述技术问题,本实用新型提供的浅静脉剥离离断器组件的技术方案具体如下:
本实用新型实施例公开了一种浅静脉剥离离断器组件,包括手柄、电池和剥脱钩,所述电池设置于手柄内,所述剥脱钩与所述电池连接,还包括连接头,所述剥脱钩一端通过所述连接头与所述手柄一端连接,所述剥脱钩另一端具有钩子,以实现所述剥脱钩和所述钩子之间形成一电凝工作区。
在上述任一方案中优选的是,所述手柄内部为中空结构。
在上述任一方案中优选的是,还包括开关,所述电池设置于中空结构内,所述开关设置于所述手柄上,所述电池通过所述开关与所述剥脱钩连接。
在上述任一方案中优选的是,所述手柄一端具有第一内螺纹。
在上述任一方案中优选的是,还包括堵头,所述堵头设置于所述手柄一端。
在上述任一方案中优选的是,所述堵头一侧具有第一外螺纹,所述第一外螺纹与所述手柄上的所述第一内螺纹螺纹连接。
在上述任一方案中优选的是,还包括第二外螺纹,所述第二外螺纹设置于所述手柄另一端。
在上述任一方案中优选的是,所述连接头上具有第二内螺纹,以实现所述连接头通过所述第二内螺纹与所述第二外螺纹螺纹连接。
在上述任一方案中优选的是,还包括控制器,所述控制器设置于所述手柄的中空结构内,所述控制器与所述电池连接。
在上述任一方案中优选的是,还包括通孔,所述通孔设置于所述堵头上,所述电线穿过所述通孔与所述控制器连接。
在上述任一方案中优选的是,所述剥脱钩和所述钩子局部粘结有绝缘层。
在上述任一方案中优选的是,还包括支架,所述支架设置于所述手柄上的中空结构内,所述电池安装于所述支架上。
在上述任一方案中优选的是,所述钩子的平面与所述手柄的夹角范围为 且所述钩子有向下的弧度。
在上述任一方案中优选的是,所述钩子的钩口宽 钩口深
在上述任一方案中优选的是,所述钩子的钩口宽2.5mm,钩口深3mm,适于 直径的血管。
在上述任一方案中优选的是,所述钩子的钩口宽1.5mm,钩口深2mm,适于 直径的血管。
在上述任一方案中优选的是,所述钩子的钩口宽1mm,钩口深1.5mm,适于直径小于1.5mm的血管。
与现有技术相比,本实用新型实施例浅静脉剥离离断器组件,剥脱钩与所述电池连接,所述剥脱钩一端通过所述连接头与所述手柄一端连接,所述剥脱钩另一端具有钩子,以实现所述剥脱钩和所述钩子之间形成一电凝工作区,可最大限度地减少手术创伤、血肿形成概率,手术时间和手术费用,减少神经损伤,因而适合各级医院普及使用;
所述手柄内部为中空结构,所述电池设置于中空结构内,可以方便安装,所述手柄一端具有第一内螺纹,所述堵头一侧具有第一外螺纹,所述第一外螺纹与所述手柄上的所述第一内螺纹螺纹连接,可以方便组装和使用;
第二外螺纹设置于所述手柄另一端,所述连接头上具有第二内螺纹,以实现所述连接头通过所述第二内螺纹与所述第二外螺纹螺纹连接。
所述剥脱钩和所述钩子局部粘结有绝缘层,可以起到绝缘的作用,可最大限度地减少手术创伤、血肿形成概率,所述支架设置于所述手柄上的中空结构内,所述电池安装于所述支架上,可以方便安装,所述钩子的平面与所述手柄的夹角范围为 且所述钩子有向下的弧度,可以方便医护人员使用。
【附图】:






























