授权专利
【实用新型】一种胎心监护探头
专利号:ZL202021739567.8
申请日:20200819
发明人:李娜
法律状态:授权
公开号:CN213406094U
授权公告日:2021-06-11
交易方式:转让; 许可
【摘要】:
本实用新型公开了一种胎心监护探头,涉及到胎心监护探头领域,包括终端设备,终端设备通过导线连接有胎心监护探头和备用探头,胎心监护探头的内部设有内槽,内槽中设有连接在导线端部的监测组件,胎心监护探头可使用薄片状的橡胶垫等制作,而监测组件设置在胎心监护探头中,控制监测组件的控制组件设置在终端设备中,减少了胎心监护探头内部元器件的设置,胎心监护探头中只需设置一组监测组件即可,可使胎心监护探头呈薄片状方便贴合在腹部,而无需绑缚给产妇造成压迫不舒适的情况;备用探头的一侧设有可夹持在夹持件上的固定夹,备用探头可在使用时直接夹持在夹持件上进行使用,也无需绑缚,且方便固定和取出。
【技术领域】:
本实用新型涉及胎心监护探头领域,特别涉及一种胎心监护探头。
【实用新型内容】:
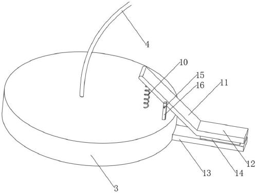
本实用新型提供如下技术方案:一种胎心监护探头,包括终端设备,所述终端设备通过导线连接有胎心监护探头和备用探头,所述胎心监护探头的上表面固定设有夹持件,所述夹持件的侧面设有夹持槽,所述胎心监护探头的下表面粘合有粘附层,所述粘附层的一侧设有凸起于胎心监护探头上表面的起边,所述备用探头的一侧设有可夹持在夹持件上的固定夹,所述胎心监护探头的内部设有内槽,内槽中设有连接在导线端部的监测组件。
优选的,所述夹持件呈凹字形结构,夹持件与胎心监护探头之间形成供固定夹夹持的矩形槽体。
优选的,所述固定夹包括活动部分和固定部分,所述固定部分包括固定在备用探头一侧的固定板,所述活动部分包括一体设置并形成V字形结构的施力板、受力板,所述受力板平行贴合在固定板的表面,所述受力板的底部固定设有活动贴合在固定板上表面的橡胶垫。
优选的,所述施力板的中部设置有铰接机构,所述铰接机构包括固定在备用探头上表面的支架和活动插合在支架上端的圆杆,所述圆杆的端部与施力板的侧面固定连接。
优选的,所述施力板的底部固定设有弹簧,所述弹簧的端部固定在备用探头的上表面。
本实用新型的技术效果和优点:
本实用新型的一种胎心监护探头,包括终端设备,终端设备通过导线连接有胎心监护探头和备用探头,胎心监护探头的内部设有内槽,内槽中设有连接在导线端部的监测组件,胎心监护探头可使用薄片状的橡胶垫等制作,而监测组件设置在胎心监护探头中,控制监测组件的控制组件设置在终端设备中,减少了胎心监护探头内部元器件的设置,胎心监护探头中只需设置一组监测组件即可,可使胎心监护探头呈薄片状方便贴合在腹部,而无需绑缚给产妇造成压迫不舒适的情况;
本实用新型的一种胎心监护探头,备用探头的一侧设有可夹持在夹持件上的固定夹,备用探头可在使用时直接夹持在夹持件上进行使用,也无需绑缚,且方便固定和取出。
【附图】:































