授权专利
【实用新型】一种血液透析上肢固定架
专利号:ZL202021290947.8
申请日:20200703
发明人:彭姗姗
法律状态:授权
公开号:CN213641738U
授权公告日:2021-07-09
交易方式:转让; 许可
【摘要】:
本实用新型一种血液透析上肢固定架,包括固定槽、折叠组件和血液管收纳盒,所述固定槽的上方表面设置有滑动凹槽,且滑动凹槽的上方设置有滑动块,所述滑动块的下方设置有滑轮,且滑轮与滑动凹槽滑动连接,所述折叠组件位于滑动块的右侧,且折叠组件的右侧设置有上肢固定垫,并且折叠组件与滑动块和上肢固定垫折叠连接,所述上肢固定垫的左侧表面设置有绷带盒,且绷带盒的内部设置有涡旋弹簧,该实用新型能够方便对上肢固定架进行伸缩折叠,有利于对上肢固定架进行收纳摆放,不占用空间,固定槽方便与病床进行灵活安装拆卸,同时也便于对不同长度的血液管进行收纳避免管子打结杂乱,有序的进行。
【技术领域】:
本实用新型涉及医疗机械技术领域,具体为一种血液透析上肢固定架。
【实用新型内容】:
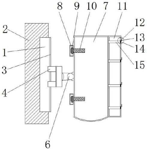
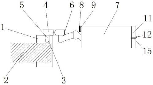
本实用新型提供如下技术方案:一种血液透析上肢固定架,包括固定槽、折叠组件和血液管收纳盒,所述固定槽的上方表面设置有滑动凹槽,且滑动凹槽的上方设置有滑动块,所述滑动块的下方设置有滑轮,且滑轮与滑动凹槽滑动连接,所述折叠组件位于滑动块的右侧,且折叠组件的右侧设置有上肢固定垫,并且折叠组件与滑动块和上肢固定垫折叠连接,所述上肢固定垫的左侧表面设置有绷带盒,且绷带盒的内部设置有涡旋弹簧,所述涡旋弹簧的外圈设置有绷带,且绷带与涡旋弹簧旋转连接,所述血液管收纳盒位于上肢固定垫的右侧,且血液管收纳盒的右侧表面设置有旋转把手,所述旋转把手的左侧设置有锥形齿轮组,且旋转把手与锥形齿轮组旋转连接,所述锥形齿轮组的下方设置有旋转转盘,且旋转转盘位于血液管收卷孔的右侧右端,并且锥形齿轮组与旋转转盘旋转连接。
优选的,所述固定槽呈长方形,且固定槽与病床侧板卡合连接,并且固定槽与病床侧板为可拆卸分离。
优选的,所述绷带盒为透明塑料材质,且其均匀分布于上肢固定垫的左侧两端,并且其大小相同。
优选的,所述涡旋弹簧均匀分布于上肢固定垫两侧绷带盒内,且绷带缠绕于涡旋弹簧外围,并且绷带与涡旋弹簧构成旋转结构。
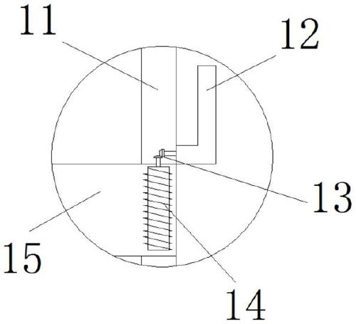
优选的,所述血液管收纳盒呈半圆筒形,且旋转把手设有四个均匀分布于血液管收纳盒右侧,其大小相同,并且旋转把手与锥形齿轮组和旋转转盘构成旋转结构。
优选的,所述血液管收卷孔设有四个均匀分布于血液管收纳盒上,且其大小长度等同。
与现有技术相比,本实用新型的有益效果是:一种血液透析上肢固定架;
(1)能够方便对上肢固定架进行伸缩折叠,有利于对上肢固定架进行收纳摆放,不占用空间,固定槽方便与病床进行灵活安装拆卸,同时也便于对不同长度的血液管进行收纳避免管子打结杂乱,有序的进行;
(2)通过固定槽与病床侧板的卡合可以方便进行固定,且安装灵活可随意调换位置,折叠组件可以有利于对固定架进行折叠,方便收纳,绷带盒的绷带可以对管道在上肢上进行固定的同时也可对上肢固定垫进行固定,不造成对上肢进行固定造成的伤害,血液管收纳盒方便对血液管子进行收纳,收卷孔内可以方便对不同长度的血液管进行收卷收纳。
【附图】:






























