授权专利
【实用新型】一种针灸用针具校准装置
专利号:ZL202020358138.X
申请日:20200320
发明人:马海舰
法律状态:授权
公开号:CN212495058U
授权公告日:2021-02-09
交易方式:转让; 许可
【摘要】:
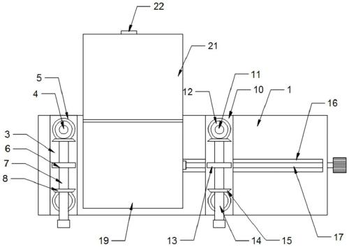
本实用新型公开了一种针灸用针具校准装置,包括底板,底板上端面左侧设有固定座一,固定座一上方设有下压板一,下压板一前后两端螺纹连接有螺纹杆一,螺纹杆一下端与固定座一转动连接,螺纹杆一上端设有齿轮一,调节杆一上设有齿轮二,底板上端面固定座一右侧设有固定座二,固定座二上方设有下压板二,下压板二前后两端螺纹连接有螺纹杆二,螺纹杆二下端与固定座二转动连接,螺纹杆二上端设有齿轮三,调节杆二上设有齿轮四,底板上设有滑槽,滑槽内转动连接有螺纹杆三,螺纹杆三上螺纹连接有连接片三,连接片三与滑槽滑动连接,连接片三与固定座二连接。本实用新型的优点在于:可同时对多根针具进行校正、校正耗时短、效率高、使用方便。
【技术领域】:
本实用新型涉及针灸用针具技术领域,具体是指一种针灸用针具校准装置。
【实用新型内容】:
本实用新型提供的技术方案为:一种针灸用针具校准装置,包括底板,所述底板上端面左侧设有固定座一,所述固定座一上方设有下压板一,所述下压板一前后两端螺纹连接有螺纹杆一,所述螺纹杆一下端与固定座一转动连接,所述螺纹杆一上端设有齿轮一,所述下压板一上端面设有连接片一,所述连接片一上转动连接有调节杆一,所述调节杆一上设有齿轮二,所述齿轮二与齿轮一啮合,所述底板上端面固定座一右侧设有固定座二,所述固定座二上方设有下压板二,所述下压板二前后两端螺纹连接有螺纹杆二,所述螺纹杆二下端与固定座二转动连接,所述螺纹杆二上端设有齿轮三,所述下压板二上端面设有连接片二,所述连接片二上转动连接有调节杆二,所述调节杆二上设有齿轮四,所述齿轮四与齿轮三啮合,所述底板上设有滑槽,所述滑槽内转动连接有螺纹杆三,所述螺纹杆三右端与底板转动连接,且从底板露出,所述螺纹杆三上螺纹连接有连接片三,所述连接片三与滑槽滑动连接,所述连接片三与固定座二连接,所述固定座一和固定座二之间设有支撑板。
本实用新型与现有技术相比的优点在于:该针灸用针具校准装置,通过固定座一、下压板一和固定座二和下压板二对针具的两端进行固定,通过转动螺纹杆三,使得与螺纹杆三螺纹连接的连接片三在螺纹杆上移动,从而带动固定座二和下压板二移动,对针具进行拉伸,对折弯处进行校正,使用方便的同时,可同时对多根针具进行校正,耗时短、效率高。
作为改进,所述固定座一、下压板一相对的一面和固定座二、下压板二相对的一面上均设有橡胶垫。
作为改进,所述支撑板后侧铰接有加热板,所述加热板上设有电源接头。
作为改进,所述支撑板上端面与固定座一、固定座二上端面平齐。
作为改进,所述调节杆一、调节杆二前端和螺纹杆三右端均设有把手。
【附图】:




























