授权专利
【实用新型】一种智能移动辅助器
专利号:ZL202022419201.9
申请日:20201027
发明人:张红芳; 王淑丽
法律状态:授权
公开号:CN213941212U
授权公告日:2021-08-13
交易方式:转让; 许可
【摘要】:
本实用新型提供一种智能移动辅助器,包括坐垫支架,坐垫支架底部设有支撑腿,支撑腿连接移动装置,坐垫支架顶部设有扶手和靠背,扶手包括第一扶手和第二扶手,第一扶手上设有升降装置,靠背顶部设有控制箱,控制箱表面设有控制面板,控制箱内设有控制器,控制器连接控制面板、升降装置和移动装置,坐垫支架通过折叠装置连接坐垫,折叠装置分别连接控制器和电源,控制器无线连接通讯设备。本实用新型与传统的康复助行器只是提供了“拐棍”的作用,或传统的轮椅只提供了移动的作用相比,通过坐垫的折叠与伸展,实现患者在“坐、立、走”多种体位间自由切换。有利于患者持续康复训练,避免训练过程中过渡劳累,有利于患者康复。
【技术领域】:
本实用新型属于医疗用器械技术领域,尤其是涉及一种智能移动辅助器。
【实用新型内容】:
本实用新型要解决的问题是提供一种辅助器,尤其是结构简单,操作方便,专门适用于患者康复训练,具有实时监测功能,多种操作方式,可实现坐、立、走多功能一体,功能齐全,智能化程度高的一种智能移动辅助器。
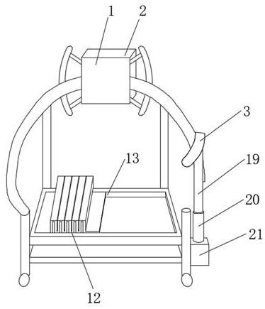
为解决上述技术问题,本实用新型采用的技术方案是:一种智能移动辅助器,包括坐垫支架,所述坐垫支架底部设有支撑腿,所述支撑腿连接移动装置,所述坐垫支架顶部设有扶手和靠背,所述扶手包括第一扶手和第二扶手,所述靠背置于所述坐垫支架顶部中心位置,所述第一扶手和所述第二扶手分别置于所述靠背两侧,所述第一扶手上设有升降装置,所述靠背顶部设有控制箱,所述控制箱表面设有控制面板,所述控制箱内设有控制器和电源,所述控制器连接所述控制面板、所述升降装置和所述移动装置,所述电源连接所述控制器、所述控制面板、所述升降装置和所述移动装置,所述坐垫支架通过折叠装置连接坐垫,所述折叠装置分别连接所述控制器和所述电源,所述控制器无线连接通讯设备。
进一步的,所述坐垫支架为方形框体,所述支撑腿为四个,所述移动装置为万向轮,所述万向轮为四个,四个所述支撑腿底面分别连接四个所述万向轮,四个所述支撑腿顶面分别连接所述坐垫支架四角,所述万向轮包括支架、滚轮、支架座和刹车装置,所述滚轮通过驱动轴安装在所述支架上,所述支架安装在所述支架座上,所述支架座上设有刹车装置,所述驱动轴和所述刹车装置分别连接所述控制器。
进一步的,所述折叠装置包括滑动轨道和滑轮,所述坐垫支架内侧面设有轨道凹槽,所述滑动轨道置于所述轨道凹槽内,所述坐垫为多块支撑板,相邻所述支撑板之间通过连接装置连接,所述滑轮连接所述支撑板边缘,所述滑轮与所述滑动轨道配合,所述折叠装置使所述坐垫具有两种状态,
第一状态下,所述滑轮均匀分布在所述滑动轨道内,多块所述支撑板均水平放置,所述折叠装置伸展,所述坐垫平铺在所述坐垫支架内;
第二状态下,所述滑轮堆积在所述滑动轨道内靠近所述第二扶手端,多块所述支撑板竖直成角度放置,所述折叠装置折叠,所述坐垫折叠在所述坐垫支架内靠近所述第二扶手处。
进一步的,所述轨道凹槽截面为竖直放置的“凸”字形,一组所述滑动轨道包括上轨道和下轨道,所述上轨道置于所述轨道凹槽内上面,所述下轨道置于所述轨道凹槽内下面,所述上轨道与所述下轨道相对设置,所述上轨道与所述下轨道截面均为方形,所述滑轮外圆柱面中心位置设有环形凹槽,所述环形凹槽上部卡在所述上轨道内,所述环形凹槽下部卡在所述下轨道内,所述滑轮在所述滑动轨道内直线滑动。
进一步的,所述连接装置包括第一轴套、第二轴套和连接轴,所述第一轴套与所述第二轴套分别置于相邻两块所述支撑板相邻处底面,所述支撑板包括第一支撑板和第二支撑板,所述第一轴套置于所述第一支撑板与所述第二支撑板相邻处底面,所述第二轴套置于所述第二支撑板与所述第一支撑板相邻处底面,所述第一轴套与所述第二轴套交错设置,所述连接轴置于所述第一轴套与所述第二轴套内。
进一步的,所述升降装置为电动升降杆,所述电动升降杆包括伸缩套筒和伸缩杆,所述伸缩杆一端连接所述第一扶手底部,所述伸缩杆另一端置于所述伸缩套筒内,所述伸缩套筒连接驱动机构,所述驱动机构连接所述控制器。
进一步的,还包括智能手环,所述智能手环包括壳体,所述壳体内部设有芯片,所述芯片连接多种传感器,所述多种传感器包括电容传感器、气压传感器和GPS传感器,所述电容传感器用以检测患者是否佩戴所述智能手环,所述气压传感器用以测量高程变化,所述GPS传感器用以定位患者所在位置。
进一步的,所述智能手环包括腕带,所述腕带包括第一腕带和第二腕带,所述第一腕带一端连接所述壳体一端,所述第一腕带另一端设有第一卡扣,所述第二腕带一端连接所述壳体另一端,所述第二腕带另一端设有第二卡扣,所述第一卡扣与所述第二卡扣配合,形成封闭圆环,佩戴在患者手腕上。
进一步的,所述坐垫支架底部设有踏板,所述踏板与所述坐垫支架平行设置,所述踏板四角分别连接四个所述支撑腿。
进一步的,所述通讯设备为手机,所述手机连接所述控制器。
本实用新型具有的优点和积极效果是:
1、本实用新型结构简单,操作方便,与传统的康复助行器只是提供了“拐棍”的作用,或传统的轮椅只提供了移动的作用相比,通过坐垫的折叠与伸展,实现患者在“坐、立、走”多种体位间自由切换。有利于患者持续康复训练,避免训练过程中过渡劳累,有利于患者康复。
2、本实用新型通过智能手环定位患者具体位置,便于家属掌握患者具体位置,当患者由坐姿改为站姿时,患者手臂伸展高度带动智能手环发生高度变化,智能手环感应患者高度变化情况发送给控制器,控制器驱动升降装置工作,带动扶手升高,帮助患者接触扶手,辅助完成患者站立,避免患者患者站立过程中摔倒。同时智能手环可完成患者生命体征监测,实现动态、多维看护患者生命安全。
3、本实用新型通过手动或语音的形式操作控制面板调控控制器,控制器驱动驱动轴转动,带动患者前移或后退,通过刹车装置驱动辅助器停止移动。控制器驱动升降装置升降,从而驱动扶手升降,辅助患者站立。控制器驱动折叠装置伸缩,从而实现坐垫伸展与折叠,操作方便,灵活性强。
4、本实用新型通过控制连接患者通讯设备,当智能手环检测到患者摔倒或生命体征出现异常时,所述智能手环将信息发送给控制器,控制器驱动通讯设备联系患者家属,方便及时救助患者。
【附图】:































