授权专利
【实用新型】一种神经外科的颅脑引流管夹持器
公开(公告)号: CN209048874U
摘要附图:

标题: 一种神经外科的颅脑引流管夹持器
专利类型: 实用新型
申请日: 2018-08-28
公开(公告)日: 2019-07-02
发明人: 杨俊
当前申请(专利权)人: 首都医科大学附属北京潞河医院
IPC分类号: A61M25/02
法律状态/事件: 未缴年费
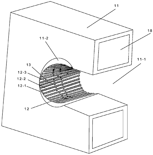
技术功效: [0015]此外,通过设置多条棱,在弧形弹片的内表面上形成防滑结构,使引流管不容易脱离夹持器,不容易造成局部过于松动形成折弯,从而保持引流顺畅;
摘要: 本实用新型涉及一种神经外科的颅脑引流管夹持器,包括基座,基座一侧设置开口;基座位于开口的内侧设置有弧形豁口,弧形豁口的两端与开口连接为一体;弧形豁口内安装有弧形弹片,弧形弹片通过空心螺栓固定于基座上,空心螺栓形成有贯穿两端的通孔;弧形弹片的背对弧形豁口的一面依次设置有多条棱,相邻的棱之间形成条形凹槽,条形凹槽内设置有第一通风孔;基座内正对弧形豁口的位置设置有弧形空腔,通孔与弧形空腔连通,弧形空腔内安装有电热丝,弧形空腔靠近弧形豁口的一侧,设置有与第一通风孔对应的第二通风孔;基座上设置有与弧形空腔连通的第三通风孔。本实用新型的引流管夹持器有利于保持引流顺畅。

























