授权专利
【实用新型】一种神经外科手术引流器
公开(公告)号: CN209060137U
摘要附图:

标题: 一种神经外科手术引流器
专利类型: 实用新型
申请日: 2018-08-28
公开(公告)日: 2019-07-05
发明人: 侯自明
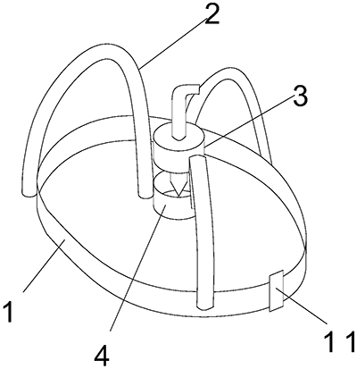
当前申请(专利权)人: 首都医科大学附属北京潞河医院
IPC分类号: A61M1/00
法律状态/事件: 未缴年费
技术功效: [0008]本实用新型的有益效果为: [0009]本实用新型提供的神经外科手术引流器,用卡扣将固定条两端进行连接,使固定条围成环状,围成环状的固定条套在患者头部,然后通过支撑架将套设有引流组件的固定环固定连接,使引流器能够稳定地进行引流。 [0010]本实用新型的其它特征和优点将在随后的说明书中阐述,并且,部分地从说明书中变得显而易见,或者通过实施本实用新型而了解。本实用新型的目的和其他优点可通过在所写的说明书、权利要求书、以及附图中所特别指出的结构来实现和获得。
摘要: 本实用新型提供了一种神经外科手术引流器,包括固定条、支撑架和引流组件,固定条的两端通过卡扣连接,固定条围成环状,固定条围成的环状结构的上方设置支撑架,固定条与支撑架下端固定连接;支撑架中间位置设置固定环,引流组件套设在固定环中。本实用新型提供的神经外科手术引流器,用卡扣将固定条两端进行连接,使固定条围成环状,围成环状的固定条套在患者头部,然后通过支撑架将套设有引流组件的固定环固定连接,使引流器能够稳定地进行引流。

























