授权专利
【实用新型】安剖便捷开瓶器
公开(公告)号: CN216566557U
摘要附图:

标题: 安剖便捷开瓶器
专利类型: 实用新型
申请日: 2021-12-14
公开(公告)日: 2022-05-20
发明人: 荀靖雯
当前申请(专利权)人: 首都医科大学附属北京潞河医院
IPC分类号: B67B7/92
法律状态/事件: 授权
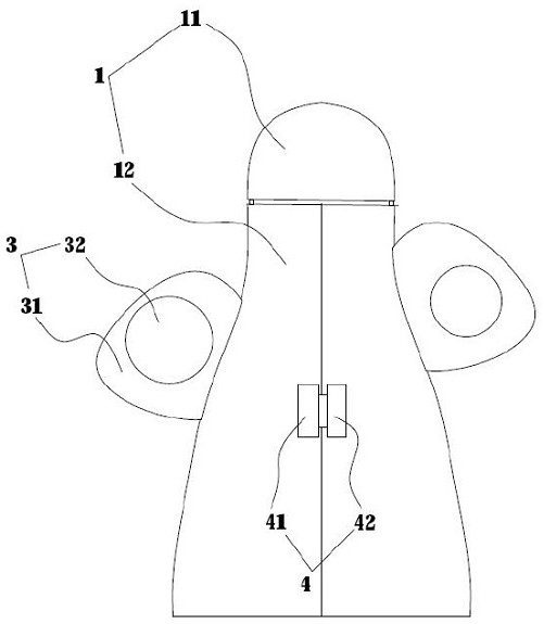
技术功效: [0016]在上述的一种安剖便捷开瓶器中,所述的活动套内侧的下端设置有切割砂片。当开瓶套套设在安剖瓶的安剖乳头上时,操作人员可通过转动开瓶套,能够使切割砂片能够在安剖乳头与瓶身的连接处切割出裂缝,便于操作人员掰开安剖乳头,同时减少安剖乳头的破碎。 [0017]与现有技术相比,本实用新型通过设开瓶套,当操作人员需要打开安剖瓶时,仅需将一侧的活动套与安剖乳头贴合,另一侧的活动套靠近与安剖乳头贴合的活动套,使两个活动套闭合,即可将安剖乳头完全套住,手不与安剖乳头直接接触,即使出现乳头破碎的情况也不会割伤手部;当开瓶套套设在安剖乳头上时,操作人员握住握把将安剖瓶的乳头掰掉,增大了施力面积,且握把在安剖瓶开启过程中会起到杠杆的作用,进一步减小折断乳头所需的力,从而开启安剖瓶所需的力较小,力度容易把控,不至于用力太大将安剖瓶掰碎又避免了用力太小而无法将安剖瓶掰开的情况,减少了安剖瓶意外破碎的情况。
摘要: 本实用新型涉及一种安剖便捷开瓶器,包括用于套设在安剖乳头上的开瓶套,所述开瓶套包括安装部和分别铰接于安装部的活动套,所述的活动套可沿铰接轴向外张开,两侧所述的活动套闭合形成用于容纳安剖乳头的容纳腔,所述的活动套上设置有操作部,当操作人员需要打开安剖瓶时,仅需将一侧的活动套与安剖乳头贴合,另一侧的活动套靠近与安剖乳头贴合的活动套,使两个活动套闭合,即可将安剖乳头完全套住,手不与安剖乳头直接接触,即使出现安剖瓶乳头破碎的情况也不会割伤手部。

























