授权专利
【实用新型】出液量可调的便携式消毒瓶
公开(公告)号: CN215025142U
摘要附图:

标题: 出液量可调的便携式消毒瓶
专利类型: 实用新型
申请日: 2021-04-07
公开(公告)日: 2021-12-07
发明人: 赵旭瑞
当前申请(专利权)人: 首都医科大学附属北京潞河医院
IPC分类号: A61M35/00 | A61J1/05 | A61J1/14
法律状态/事件: 授权
技术功效: [0020]1、本实用新型提供的出液量可调的便携式消毒瓶瓶身设有魔术贴,魔术贴与衣物可拆卸连接,能够便于携带,可随时随地进行消毒。 [0021]2、本实用新型提供的出液量可调的便携式消毒瓶中的挡块的弹性卡销和套体的通孔可以卡合,通孔包括位置不同的第一通孔、第二通孔和第三通孔,沿第一方向上,弹性卡销与不同的通孔卡合,挡块与出液头之间具有不同的长度,以此来调节消毒瓶具有不同的出液量,避免浪费。 [0022]3、本实用新型提供的出液量可调的便携式消毒瓶设有第一阀球和第二阀球,不仅能够使泵体内形成负压,将瓶内的消毒液吸入泵体中,还能够起到密封作用,防止消毒液挥发,避免污染。 [0023]当然,实施本实用新型的任一产品必不特定需要同时达到以上所述的所有技术效果。 [0024]通过以下参照附图对本实用新型的示例性实施例的详细描述,本实用新型的其它特征及其优点将会变得清楚。
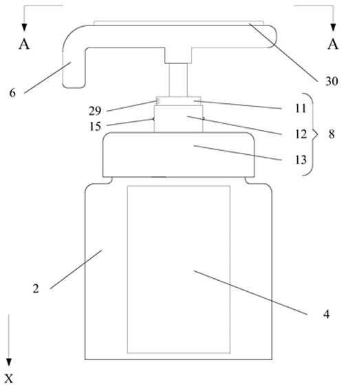
摘要: 本实用新型公开了一种出液量可调的便携式消毒瓶,包括:瓶体,与瓶体连接的泵头;瓶体,包括瓶身和瓶口,瓶身设有魔术贴,魔术贴与衣物可拆卸连接;泵头,包括沿第一方向上顺次连接的出液头、泵颈、泵套、泵体和导液管;泵套包括沿第一方向上顺次设置的挡块、套体和瓶盖;挡块中空,包括内壁和外壁,外壁对称设有凹槽,凹槽内设有弹性卡销;套体套接于挡块外侧,套体侧壁对称设有通孔,弹性卡销与通孔卡合;瓶盖与瓶口螺纹连接;泵体包括活塞、第一弹簧和第二阀球。通过魔术贴与衣物可拆卸连接,便于携带,可随时随地进行消毒。弹性卡销与不同的通孔卡合,挡块与出液头之间具有不同的长度,以此来调节消毒瓶的出液量。

























