授权专利
【实用新型】导管冲洗器及冲洗套件
公开(公告)号: CN215083329U
摘要附图:

标题: 导管冲洗器及冲洗套件
专利类型: 实用新型
申请日: 2021-04-25
公开(公告)日: 2021-12-10
发明人: 李纯
当前申请(专利权)人: 首都医科大学附属北京潞河医院
IPC分类号: A61M5/14 | A61L2/18 | A61L101/34
法律状态/事件: 授权
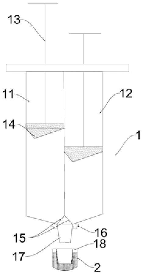
技术功效: [0021]本实用新型提供的导管冲洗器及冲洗套件,与现有技术相比,具有如下有益效果:本体内存在有第一腔体和第二腔体,可以填充两种液体,如生理盐水和肝素盐水,给患者冲洗导管时,先推动第一推拉组件使生理盐水释放进行冲管,再推动第二推拉组件使肝素盐水释放进行冲管,操作方便,无需多次抽取不同冲洗液,省时省力,缩短了冲洗导管的时间。且冲洗套件具有上述导管冲洗器和盖帽,能够对导管冲洗器本体进行盖合,防止冲洗液污染。
摘要: 本实用新型提供了一种导管冲洗器及冲洗套件,涉及医疗设备技术领域,解决了使用现有注射器冲洗中心静脉导管,需要至少来回抽取两种液体,冲洗过程操作繁琐的技术问题;该导管冲洗器包括本体,本体内至少构造有用以填充相同或不同的液体的第一腔体和第二腔体,第一腔体和第二腔体均具有出液口,第一腔体内存在有第一推拉组件;的第二腔体内具有第二推拉组件,推动第一推拉组件或第二推拉组件能将对应腔体中的液体推出以冲洗导管;导管冲洗器具有第一腔体和第二腔体,可以填充两种液体,如生理盐水和肝素盐水,给患者冲洗导管时,分别推动第一推拉组件、第二推拉组件,操作方便,无需多次抽取不同冲洗液,省时省力,缩短了冲洗导管的时间。

























