授权专利
【实用新型】护理盘
公开(公告)号: CN215193250U
摘要附图:

标题: 护理盘
专利类型: 实用新型
申请日: 2021-03-03
公开(公告)日: 2021-12-17
发明人: 张楠
当前申请(专利权)人: 首都医科大学附属北京潞河医院
IPC分类号: A61G12/00 | A61M5/00
法律状态/事件: 授权
技术功效: [0012]与现有技术相比,本实用新型的有益效果是:本实用新型护理盘,卡扣位于盒体的内部,避免未合紧盖子的情况下,手持装置导致装置滑脱的问题,有利于装置移动的安全性,本装置设置有注射器固定结构,避免注射器在装置的内部滚动,有利于对注射器的保护,装置的上盖设置有遮光结构,避免配置后需要避光的液体收光导致液体变质的问题。
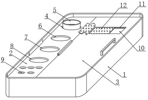
摘要: 本实用新型涉及医疗器械技术领域,具体为护理盘,包括护理盘主体,所述护理盘主体的上表面一端转动安装有药物隔板,所述护理盘主体的上表面另一侧安装有上密封盖,所述药物隔板的上表面开设有垃圾杯放置孔、第一放置槽、第二放置槽与第三放置槽,所述垃圾杯放置孔的内部放置有垃圾杯,所述药物隔板的上表面下端开设有第四放置槽,所述护理盘主体的内部放置有放置板,所述放置板的上表面固定有注射器卡夹,所述上密封盖的上表面开设有透窗,所述透窗的外侧设置有卡条。本实用新型护理盘,卡扣位于盒体的内部,设置有注射器固定结构,装置的上盖设置有遮光结构,避免配置后需要避光的液体收光导致液体变质的问题。

























