授权专利
【实用新型】截石位检查床
公开(公告)号: CN216629044U
摘要附图:

标题: 截石位检查床
专利类型: 实用新型
申请日: 2022-01-13
公开(公告)日: 2022-05-31
发明人: 王亚娟
当前申请(专利权)人: 首都医科大学附属北京潞河医院
IPC分类号: A61G13/08 | A61G13/10 | A61G13/12 | A61M21/02
法律状态/事件: 授权
技术功效: [0017]一方面,通过压力感应器、音乐播放器和控制器之间电连接,当妇科患者躺在第一垫体时,触发压力感应器并通过控制器控制音乐播放器播放音乐,音乐可以转移患者的注意力,帮助妇科患者缓解检查的不适; [0018]另一方面,可以将医务人员所需的检查物品置于支撑组件的支撑板上,便于医务人员及时取用医用检查物品,无需将上述检查物品专门放置于治疗车或者随手放置于其它平台上,从而节约时间成本,进而缩减患者的检查时间以及提高医务人员的工作效率。 [0019]当然,实施本实用新型的任一产品必不特定需要同时达到以上所述的所有技术效果。 [0020]通过以下参照附图对本实用新型的示例性实施例的详细描述,本实用新型的其它特征及其优点将会变得清楚。
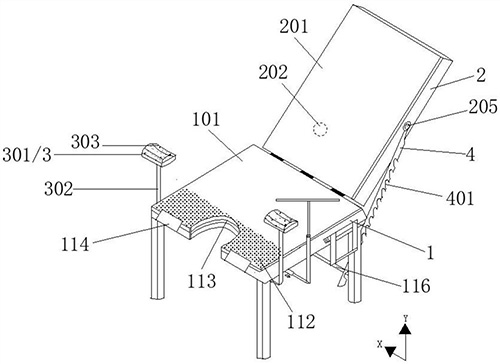
摘要: 本实用新型公开了截石位检查床,包括床板和背板,床板远离背板一侧的两端分别设有腿托架;背板上设有第一垫体,第一垫体与背板之间设有压力感应器;背板远离第一垫体一侧设有控制器、电源模块和音乐播放器,压力感应器、电源模块和音乐播放器分别与控制器电连接;床板上设有支撑组件,支撑组件包括第一伸缩杆,第一伸缩杆包括第一空心管和第一伸缩套管,第一空心管和第一伸缩套管之间设有第一调节旋钮,第一伸缩套管远离第一调节旋钮一侧设有固定块,固定块上设有第二伸缩杆,第二伸缩杆包括第二空心管和第二伸缩套管,第二伸缩套管远离第二空心管一端设有支撑板。将医务人员所需的检查物品置于支撑板上,便于医务人员及时取用医用检查物品。

























