授权专利
【实用新型】临床检查床用围帘
公开(公告)号: CN216124748U
摘要附图:

标题: 临床检查床用围帘
专利类型: 实用新型
申请日: 2021-06-29
公开(公告)日: 2022-03-25
发明人: 李飞
当前申请(专利权)人: 首都医科大学附属北京潞河医院
IPC分类号: A61G13/10
法律状态/事件: 授权
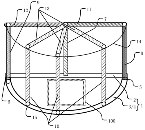
技术功效: [0022]本申请中设置了下轨道、固定支柱、第一支柱、第二支柱和第三支柱,下轨道具有弧形的滑道,第一支撑片连接了固定柱和第一支柱,第二支撑片连接了固定柱和第二支柱,第三支撑片连接了固定柱和第三支柱,而固定柱是固定在第一部上的,在使用时,将第二支柱和第三支柱在滑道内滑动,当第二支柱由第一端滑动到第二端时帘布完全展开,方便使用。 [0023]本申请中的第一支撑片、第二支撑片和第三支撑片可以选用金属材料,更坚固,不易损坏。 [0024]当然,实施本实用新型的任一产品必不特定需要同时达到以上所述的所有技术效果。 [0025]通过以下参照附图对本实用新型的示例性实施例的详细描述,本实用新型的其它特征及其优点将会变得清楚。
摘要: 本实用新型公开了一种临床检查床用围帘,包括:下轨道,包括第一部和第二部,第一部和第二部构成封闭图形,第二部包括滑道;固定支柱与第一部的中点位置固定连接;第一支柱与第一端点固定连接;第二支柱在第一端点与第二端点之间滑动;第三支柱与下轨道滑动连接,第三支柱位于第一支柱和第二支柱之间;第一支撑片的一端套接在固定支柱上、另一端套接在第一支柱上,第二支撑片的一端套接在固定支柱上、另一端套接在第二支柱上;第三支撑片的一端套接在固定支柱上、另一端套接在第三支柱上;帘布,分别与第一支柱、第三支柱和第二支柱固定连接。第二支柱和第三支柱在滑道内滑动,当第二支柱由第一端滑动到第二端时帘布完全展开,方便使用。

























