授权专利
【实用新型】吸痰管收纳箱
公开(公告)号: CN214966694U
摘要附图:

标题: 吸痰管收纳箱
专利类型: 实用新型
申请日: 2021-05-14
公开(公告)日: 2021-12-03
发明人: 刘虹铄
当前申请(专利权)人: 首都医科大学附属北京潞河医院
IPC分类号: A61B50/30 | A61M1/00
法律状态/事件: 授权
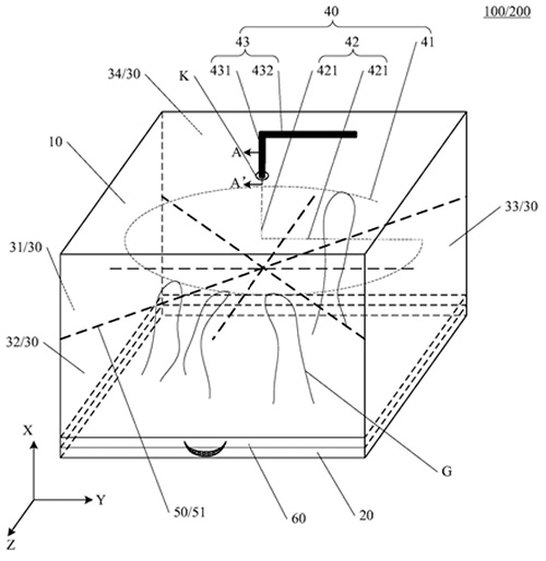
技术功效: [0022]第一、本实用新型提供的吸痰管收纳箱、第一直杆在底板所在平面的正投影与第一弯杆在底板所在平面的正投影部分交叠,第一直杆将第一弯杆分为多个区域,每个区域对应的第一弯杆悬挂一个吸痰管,即可以箱体内放置多个吸痰管、每个吸痰管悬挂在第一弯杆上,防止吸痰管受挤压发生形变,以及每次使用时,转动第三部分带动第一分部旋转、当第一分部的一端移出摸个区域时,该区域第一弯杆上的吸痰管会被限位架限位脱落至抽屉中,将抽屉抽出取得吸痰管,该过程中不会触碰到其余吸痰管,有利于防止吸痰管被污染。 [0023]第二、本实用新型提供的吸痰管收纳箱、结构简单利于操作。 [0024]第三、本实用新型提供的吸痰管收纳箱、可是设置多个吸痰管收纳箱本体、每个吸痰管收纳箱收纳一种型号的吸痰管,便于区分吸痰管的型号,适用性广。
摘要: 本申请公开了一种吸痰管收纳箱,包括至少一个吸痰管收纳箱本体,包括顶板、底板和侧板,顶板第二区分别与第一侧板和第三侧板固定连接,包括通孔,通孔内壁包括滑槽,滑槽向靠近侧板一侧凹陷;吸痰管放置架包括第一分部、第二分部和第三分部,第一分部为第一弯杆为圆弧状;第二分部为第一L型弯杆,第三分部为第二L型弯杆,外壁包括与滑槽卡合的凸起;限位架包括多个第一直杆,第一直杆与第一弯杆在底板的正投影部分交叠,将第一弯杆分为多个区域,每个区域对应的第一弯杆悬挂一个吸痰管;抽屉所在平面与底板平行,且抽屉沿第三方向上与底板相对滑动。本申请提供的吸痰管收纳箱、结构简单利于操作,同时可以保证吸痰管的无菌性。

























