授权专利
【实用新型】一种便捷消毒采血器
公开(公告)号: CN215584165U
摘要附图:

标题: 一种便捷消毒采血器
专利类型: 实用新型
申请日: 2021-06-20
公开(公告)日: 2022-01-21
发明人: 杨丹
当前申请(专利权)人: 首都医科大学附属北京潞河医院
IPC分类号: A61B5/154 | A61M35/00 | A61L2/18
法律状态/事件: 授权
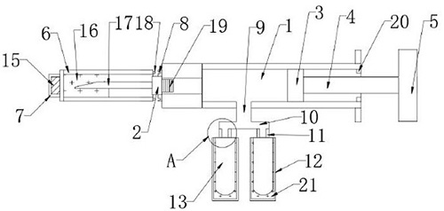
技术功效: [0013]1、通过在采血管的下方设置有导流管,导流管的下方设置有连接管,连接管底部的两端均设置有分支管,分支管的下方均设置有储液管,便于当患者需要采集大量的血液时,医务人员利用采血针,拉动推板和活塞将血液导入采血管后,血液顺着导流管和连接管分别通过分支管流入储液管内,医务人员可从观察窗观察储液管内部采集的血液量,使得一次静脉采血能够获得足够的血液,避免多次穿刺患者造成患者不适的问题,同时分支管和储液管之间设置第二螺纹槽,便于采集完成后,转动储液管取下进行密封,提高了采血的效率,避免血液在采血管内再次转移的过程中出现血液交叉感染的问题,提高了采血的便捷性,同时储液管的外侧设置有制冷壳,制冷壳的内壁设置有冷凝水,便于对储液管内的血液冷藏处理,使得血液在采集后的几个小时内处于低温的环境,便于对血液的储存。 [0014]2、通过在针盖的前端设置有密封盖,密封盖的内部设置有第一消毒棉,便于对患者进行采血前打开密封盖,利用第一消毒棉擦拭进行消毒,从而实现快速消毒的目的,避免医务人员需要拿出棉签和消毒液等繁琐的操作,整体效率得到提高,通过在针盖一端的上下均设置有卡块,连接板的上下均设置有卡槽,便于当采血完成后,直接将针盖与连接板连接固定,避免针头外露,导致医务人员或者处理人员被针头刺伤的问题,同时针盖的内部设置有第二消毒棉,便于对使用后的采血针立刻消毒,杀灭传染病菌,避免采血针暴露在空气中造成污染,从根本解决传染源,通过连接板和采血管之间设置第一螺纹槽,便于转动针盖和连接板,从而可以根据使用的需要更换不同粗细的采血针,使用更加方便。
摘要: 本实用新型涉及医疗器械技术领域,公开了一种便捷消毒采血器,包括采血管,所述采血管的一侧设置有连接板,所述连接板的一侧设置有采血针,所述采血针的外侧设置有针盖,所述针盖内部的一端设置有第二消毒棉,所述针盖的一侧设置有密封盖,所述针盖另一侧的上下均设置有卡块,所述连接板一侧的上下靠近卡块均设置有卡槽,所述采血管的内部设置有活塞。本实用新型通过在采血管的下方设置有导流管、连接管、分支管、储液管,便于当患者需要采集大量的血液时,拉动推板和活塞将血液导入采血管后,血液顺着导流管和连接管分别通过分支管流入储液管内,使得一次静脉采血能够获得足够的血液,避免多次穿刺患者造成患者不适的问题。

























