授权专利
【实用新型】一种便于固定安装的护理用托盘架
公开(公告)号: CN215307802U
摘要附图:

标题: 一种便于固定安装的护理用托盘架
专利类型: 实用新型
申请日: 2021-08-04
公开(公告)日: 2021-12-28
发明人: 陆鹏博
当前申请(专利权)人: 首都医科大学附属北京潞河医院
IPC分类号: A61G12/00 | A61B50/33 | A61B50/22
法律状态/事件: 授权
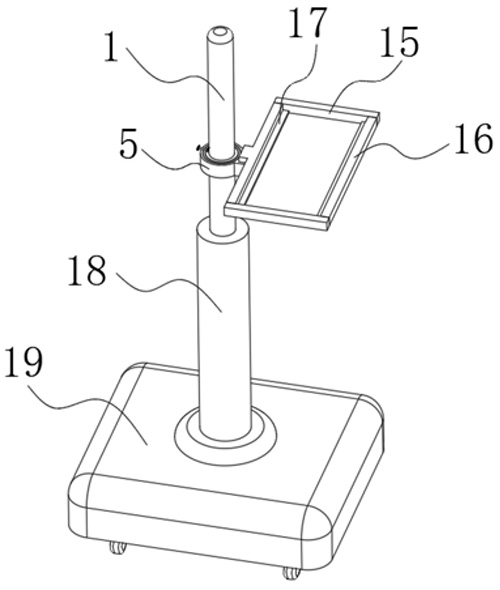
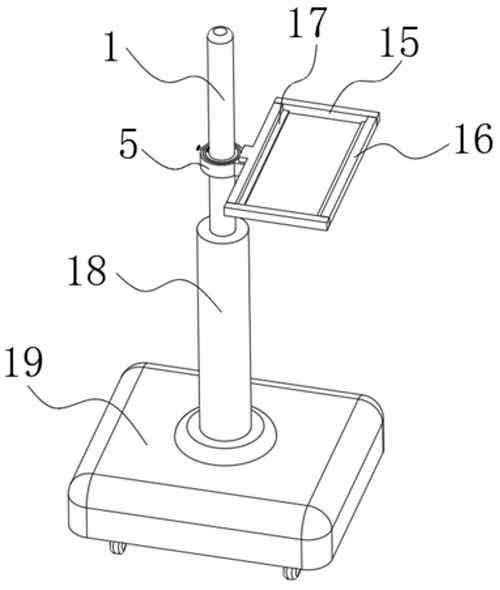
技术功效: [0012]1、本实用新型提供一种便于固定安装的护理用托盘架,通过设置有弹性套环,弹性套环由内接环、压缩簧、弹性密封框、外接环、连接块、控制柄组成,使用时,通过拉动控制柄,控制柄受力拉动连接块,由于连接块安装在内接环上,内接环受力向外拉伸张开,同时挤压压缩簧和弹性密封框,弹性套环套接在安装支柱上,调整好合适角度高度后,松开控制柄,压缩簧和弹性密封框由于自身的弹性作用下,发生弹性形变,使得装置与安装支柱锁紧固定,解决了由于现有的护理用托盘架大多无法对高度和角度进行调节,导致了护理用托盘架无法适用于不同医护人员舒适角度的使用的问题。
摘要: 本实用新型公开了一种便于固定安装的护理用托盘架,涉及医疗护理设备技术领域。包括安装支柱、第一托杆和第二托杆,所述安装支柱的外壁活动连接有内接环,所述内接环的外壁固定连接有弹性密封框,所述内接环的外壁且位于弹性密封框的内部固定连接有压缩簧。通过设置有弹性套环,弹性套环由内接环、压缩簧、弹性密封框、外接环、连接块、控制柄组成,使用时,通过拉动控制柄,控制柄受力拉动连接块,由于连接块安装在内接环上,内接环受力向外拉伸张开,同时挤压压缩簧和弹性密封框,弹性套环套接在安装支柱上,调整好合适角度高度后,松开控制柄,压缩簧和弹性密封框由于自身的弹性作用下,发生弹性形变,使得装置与安装支柱锁紧固定。

























