授权专利
【实用新型】一种病历夹推车
公开(公告)号: CN215021245U
摘要附图:

标题: 一种病历夹推车
专利类型: 实用新型
申请日: 2021-03-23
公开(公告)日: 2021-12-07
发明人: 董晖
当前申请(专利权)人: 首都医科大学附属北京潞河医院
IPC分类号: A61G12/00 | A61L2/10
法律状态/事件: 授权 | 权利转移
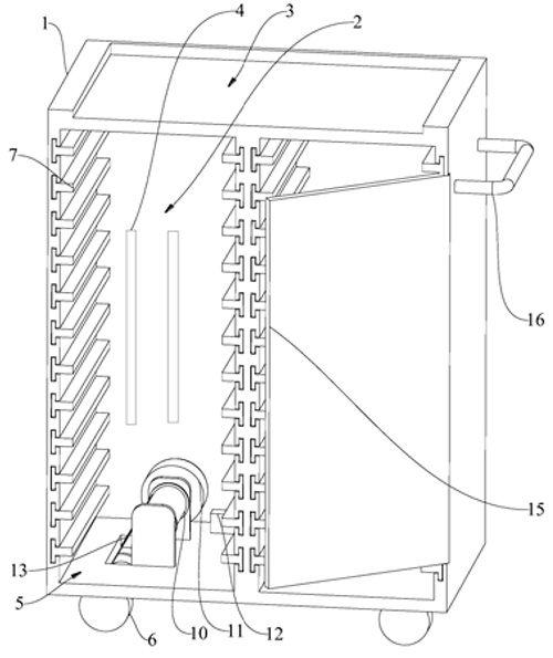
技术功效: [0017]本实用新型提供一种病历夹推车,其能够对存储于病历夹推车的病历本等文件进行消毒杀菌,避免病历本等文件感染后对医护工作者及病人的人身安全产生危害。
摘要: 本实用新型提出了一种病历夹推车,涉及医疗设备技术领域。包括:车体,车体设有用于放置病历夹的容纳腔和容纳槽,容纳腔内设有紫外线消毒灯,车体设有与容纳腔连通的开口。车体底部设有滚动轮。本实用新型提出的病历夹推车,其能够对存储于病历夹推车的病历本等文件进行消毒杀菌,避免病历本等文件感染后对医护工作者及病人的人身安全产生危害。

























