授权专利
【实用新型】一种大便采集器
公开(公告)号: CN215065319U
摘要附图:

标题: 一种大便采集器
专利类型: 实用新型
申请日: 2021-06-08
公开(公告)日: 2021-12-07
发明人: 任慧
当前申请(专利权)人: 首都医科大学附属北京潞河医院
IPC分类号: G01N1/02
法律状态/事件: 授权
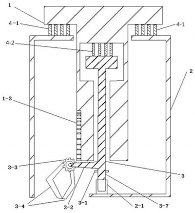
技术功效: [0020]本新型提供一种大便采集器,解决现有技术中采集困难、易污染、清洁度差的问题。采用单手施力可恢复结构和受位移控制的可恢复采集夹具设计,可单手完成取样、暂存和检测送样,具有方便、快捷、卫生的优点。
摘要: 本实用新型涉及一种大便采集器,属于医疗技术领域,包括施力装置、采集器主体、采集装置、储能装置一与储能装置二;施力装置通过储能装置一和采集器主体外部连接;采集装置在采集器主体内部与施力装置通过储能装置二连接;采集装置包含采集夹具,采集夹具受到施力装置位移变化而改变开合程度,施力装置、储能装置一、储能装置二和采集装置产生位移,同时所述采集夹具开合程度变化完成采集。本新型解决现有技术中采集困难、易污染、清洁度差的问题。采用单手施力可恢复结构和受位移控制的可恢复采集夹具设计,可单手完成取样、暂存和检测送样,具有方便、快捷、卫生的优点。

























