授权专利
【实用新型】一种儿科临床用物理降温装置
公开(公告)号: CN216060955U
摘要附图:

标题: 一种儿科临床用物理降温装置
专利类型: 实用新型
申请日: 2021-09-26
公开(公告)日: 2022-03-18
发明人: 周丽
当前申请(专利权)人: 首都医科大学附属北京潞河医院
IPC分类号: A61F7/00 | A61F7/10 | A61G7/05
法律状态/事件: 授权
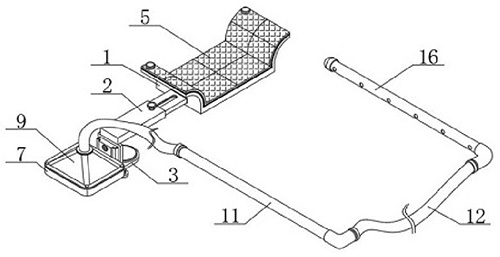
技术功效: [0015]该儿科临床用物理降温装置,通过夹板、硅胶水袋、风扇和出风管的设置,使用时,通过夹板将装置固定在床上,松动旋钮螺柱是伸缩杆伸长,使得水袋位于病床中部,将硅胶水袋内注入适当温度的水,患儿头部枕在硅胶水袋上,接着将右侧出风管和左侧出风管放置在患儿两侧,运行风扇使得风通过两个出风管吹向患儿两侧,患儿通过头枕硅胶水袋和持续吹风进行物理降温,避免了对患儿产生刺激,实用性较高。
摘要: 本实用新型公开了一种儿科临床用物理降温装置,涉及降温设备技术领域,具体为一种儿科临床用物理降温装置,包括安装在垫板一侧的伸缩杆,所述伸缩杆底部的一端固定连接有夹板,所述垫板上设有柔性枕垫,所述柔性枕垫上设有硅胶水袋。该儿科临床用物理降温装置,通过夹板、硅胶水袋、风扇和出风管的设置,使用时,通过夹板将装置固定在床上,松动旋钮螺柱是伸缩杆伸长,使得水袋位于病床中部,将硅胶水袋内注入适当温度的水,患儿头部枕在硅胶水袋上,接着将右侧出风管和左侧出风管放置在患儿两侧,运行风扇使得风通过两个出风管吹向患儿两侧,患儿通过头枕硅胶水袋和持续吹风进行物理降温,避免了对患儿产生刺激,实用性较高。

























